Norma PN-HD 60364-1:2010 - Instalacje elektryczne niskiego napięcia - Część 1: Wymagania podstawowe, ustalanie ogólnych charakterystyk, definicje - pełna treść online

Potrzebujesz profesjonalnej pomocy w odbiorze technicznym?

Norma budowlana PN-HD 60364-1:2010 za darmo

Artykuł analizuje problematykę odpłatności za polskie normy elektryczne, które są przywoływane w rozporządzeniach ministerialnych jako obowiązkowe. W ramach protestu przeciwko ograniczaniu jawności prawa, przybliżamy treść normy PN-HD 60364-1:2010. Dokument ten jest „częścią pierwszą” fundamentu przepisów elektrycznych, definiującą wymagania podstawowe, zasady ochrony dla zapewnienia bezpieczeństwa oraz wytyczne projektowe dla instalacji niskiego napięcia w obiektach budowlanych.

Potrzebujesz pomocy przy odbiorze nieruchomości od dewelopera?

Zamów fachową pomoc w odbiorze z Pewny Lokal!

  • Nie da się sprawdzić odbieranego mieszkania lub domu bez profesjonalnego, atestowanego (i drogiego!) sprzętu pomiarowego oraz znajomości norm.
  • Naprawa usterek w standardowym mieszkaniu kosztuje średnio 30 000 zł — jeśli usterki zostaną zgłoszone podczas odbioru, to naprawi je deweloper.
  • Inżynierowie Pewny Lokal znajdą wszystkie usterki w Twoim mieszkaniu. Gwarantujemy.

Gwarancja wyłapania usterek.
Doświadczeni inżynierowie.
Duża dyspozycyjność.

Strzałka zarezerwuj

Norma budowlana PN-HD 60364-1:2010 PDF

pobierz plik
Pobierz pdf

Norma budowlana PN-HD 60364-1:2010 DOC

pobierz plik
Pobierz doc

W Polsce obowiązuje żelazna zasada: ignorantia iuris nocet – nieznajomość prawa szkodzi. Obywatel ma obowiązek stosować się do przepisów, a państwo ma obowiązek umożliwić mu ich bezpłatne poznanie. Jednak w polskim systemie prawnym istnieje niebezpieczna „szara strefa” – normy techniczne. Aby przełamać tę barierę, udostępniliśmy zbiór wykupionych przez nas norm budowlanych, z których każdy może teraz skorzystać bezpłatnie. O tym, dlaczego zdecydowaliśmy się na ten krok i jakie ma on znaczenie dla praworządności, opowiada dr Piotr Semeniuk w 30. odcinku podcastu.

Fundament wszystkich instalacji: PN-HD 60364-1:2010

Norma PN-HD 60364-1:2010, dotycząca wymagań podstawowych i ustalania ogólnych charakterystyk instalacji elektrycznych, nie jest jedynie zbiorem definicji dla teoretyków. To najważniejszy dokument, na którym opiera się bezpieczeństwo elektryczne w budynkach. Zgodnie z Rozporządzeniem Ministra Infrastruktury z dnia 12 kwietnia 2002 r. w sprawie warunków technicznych, jakim powinny odpowiadać budynki i ich usytuowanie, cała seria norm PN-HD 60364 jest obowiązkowa przy projektowaniu i budowie każdej nowej instalacji w kraju.

To właśnie ta norma określa zakres stosowania przepisów, podstawowe zasady ochrony dla zapewnienia bezpieczeństwa oraz sposób oceny ogólnych charakterystyk instalacji. Dlaczego zatem dostęp do fundamentu wiedzy o bezpieczeństwie elektrycznym jest płatny?

Problem płatnego dostępu do fundamentów prawa technicznego

Obecnie Polski Komitet Normalizacyjny (PKN) traktuje normy jak produkt rynkowy, sprzedając dostęp do nich za niemałe kwoty. Uważamy, że jest to sytuacja niedopuszczalna z kilku powodów:

  • Normy to prawo techniczne: W momencie, gdy rozporządzenie (akt prawny) nakazuje budowę instalacji zgodnie z serią PN-HD 60364, staje się ona integralną częścią systemu prawnego. Ukrywanie definicji i zasad ochrony przed porażeniem za płatną barierą to uderzenie w zasady demokratycznego państwa prawnego.
  • Bariera dla obywatela i specjalisty: Inżynier, student, a przede wszystkim inwestor budujący dom, który chce zrozumieć podstawowe wymagania dotyczące ochrony przed prądem przetężeniowym czy skutkami termicznymi, musi zapłacić za dostęp do wytycznych. To prywatyzacja wiedzy, która powinna służyć bezpośrednio bezpieczeństwu publicznemu.
  • Brak transparentności: Wykonawcy często korzystają z faktu, że inwestor nie zna podstawowych wymagań zawartych w tej normie. Darmowy dostęp do tych danych to jedyne narzędzie, które pozwala realnie kontrolować jakość projektów i wykonawstwa instalacji, od których zależy bezpieczeństwo mienia i życie ludzkie.
pewny lokal icon

Kupujesz lub sprzedajesz nieruchomość?

speed clock

Uniknij kosztownych błędów! W 60 sekund odpowiedz na 5 prostych pytań, a my powiemy Ci, na co uważać!

house icon

Kupujesz czy sprzedajesz nieruchomość?

Ostatnie pytanie: Zaznacz umowy, które według Twojej wiedzy podpisałeś/aś:

Ostatnie pytanie: Zaznacz umowy, które według Twojej wiedzy podpisałeś/aś:

Ostatnie pytanie: Zaznacz umowy, które według Twojej wiedzy podpisałeś/aś:

Ostatnie pytanie: Zaznacz umowy, które według Twojej wiedzy podpisałeś/aś:

Ostatnie pytanie: Zaznacz umowy, które według Twojej wiedzy podpisałeś/aś:

Gratulujemy podjęcia decyzji! Pamiętaj jednak, że jeśli kupujesz dom od dewelopera, który już jest wybudowany, to bardzo ważne, żebyś m.in.:

  1. Sprawdził dokładnie zapisy umowne - najpewniej będziesz podpisywać umowę przedwstępną, a nie deweloperską. To ważna różnica!
  2. Zweryfikował dewelopera i bezpieczeństwo inwestycji - nieruchomości domowe to mniej "ucywilizowany" niż rynek mieszkaniowy!
  3. Miał prawo do odbioru deweloperskiego i wiedzę techniczną, jak sprawdzić nieruchomość. W przypadku domów to szczególnie ważne!

Pod tym linkiem udostępniamy Ci darmowy poradnik.

Publikując poniższą normę, przywracamy jawność standardom, które bezpośrednio wpływają na Twoje zdrowie i komfort życia.

Zakres normy

HD 60364-1 zawiera zasady projektowania, montażu i sprawdzania instalacji elektrycznych niskiego napięcia. Zasady te mają na celu zapewnienie bezpieczeństwa osób, żywego inwentarza i mienia przed zagrożeniami i szkodami, jakie mogą powstać w rozsądnie użytkowanych instalacjach elektrycznych, i zapewnienie właści- wego działania tych instalacji.

11.1 HD 60364-1 dotyczy projektowania, wykonywania i sprawdzania instalacji elektrycznych, przeznaczonych do stosowania:

a) w obiektach mieszkalnych;

b) w obiektach handlowych;

c) w obiektach użyteczności publicznej;

d) w obiektach przemysłowych;

e) w obiektach rolnych i ogrodniczych;

f) w budynkach prefabrykowanych;

g) w przyczepach turystycznych, na terenach kampingowych i im podobnych;

h) na placach budowy, wystawach, targach i innych prowizorycznych instalacjach;

i) w basenach jachtowych;

j) w zewnętrznym oświetleniu i w podobnych instalacjach (patrz, jednakże,11.3 e));

k) w pomieszczeniach medycznych;

l) w jednostkach ruchomych lub przenośnych;

m) w urządzeniach fotowoltaicznych;

n) w niskonapięciowych zespołach prądotwórczych.

UWAGA: Pojęcie „obiektu” obejmuje teren i wszystkie urządzenia łącznie z należącymi do niego budynkami.

11.2 HD 60364-1 obejmuje

a) obwody elektryczne zasilane napięciem nominalnym do 1 000 V prądu przemiennego lub do 1 500 V prądu stałego włącznie;

Preferowanymi w niniejszej normie częstotliwościami prądu przemiennego są częstotliwości 50 Hz, 60 Hz i 400 Hz. Nie wyklucza się stosowania do celów specjalnych innych częstotliwości.

b) obwody niestanowiące wewnętrznego oprzewodowania aparatów, pracujące przy napięciach przekraczają- cych 1 000 V, a wyprowadzone z instalacji mającej napięcie nieprzekraczające 1 000 V prądu przemiennego, np. obwody lamp wyładowczych i filtrów elektrostatycznych;

c) oprzewodowania i przewody nie objęte wyraźnie normami wyrobów;

d) wszystkie instalacje odbiorcze usytuowane na zewnątrz budynków;

e) oprzewodowanie stałe przeznaczone do celów informatyki, telekomunikacji, sygnalizacji, sterowania i im podobnych (z wyjątkiem wewnętrznego oprzewodowania aparatury);

f) rozbudowę lub zmianę instalacji, jak również – uzależnione od rozbudowy lub zmiany – części istniejącej instalacji.

UWAGA: Reguły HD 60364-1 są ogólnie przeznaczone do stosowania w instalacjach elektrycznych, ale w pewnych przy- padkach może zaistnieć potrzeba ich uzupełnienia wymaganiami lub zaleceniami innych norm CENELEC (np. w przypadku instalacji w gazowym środowisku wybuchowym).

1) Układ numeracji jest objaśniony w Załączniku A do normy IEC 60364-1:2005.

11.3 HD 60364-1 nie ma zastosowania w przypadku:

a) wyposażenia trakcji elektrycznej, łącznie z taborem i urządzeniami sygnalizacji;

b) wyposażenia elektrycznego pojazdów silnikowych, z wyjątkiem omawianego w Części 7;

c) instalacji elektrycznych na statkach oraz na ruchomych i stałych przybrzeżnych platformach;

d) instalacji elektrycznych statków powietrznych;

e) publicznych instalacji oświetlenia ulic, które są częścią publicznej sieci energetycznej;

f) instalacji w kopalniach i kamieniołomach;

g) wyposażenia przeciwzakłóceniowego radiowego, jeżeli nie wpływa ono na bezpieczeństwo instalacji;

h) ogrodzeń elektrycznych;

i) zewnętrznych urządzeń piorunochronnych (LPS) obiektów budowlanych;

UWAGA: Zjawiska atmosferyczne są rozpatrywane w HD 60364-1, ale tylko w zakresie ich oddziaływania na instalacje elektryczne (np. pod względem doboru urządzeń do ograniczania przepięć).

j) pewnych aspektów instalacji dźwigowych;

k) wyposażenia elektrycznego maszyn.

11.4 HD 60364-1 nie jest przeznaczony do stosowania w odniesieniu do:

  • publicznych sieci rozdziału energii elektrycznej, lub
  • wytwarzania energii elektrycznej i jej przesyłu do tych sieci.

UWAGA 1: Jednakże kraje chcące to uczynić mogą w tym celu użyć tego dokumentu w całości lub w części.

UWAGA 2: Zgodnie z HD 637, który zawiera wspólne reguły projektowania i montażu instalacji elektroenergetycznych w sieciach o napięciach znamionowych powyżej 1 kV prądu przemiennego i znamionowej częstotliwości do 60 Hz włącz- nie, urządzenia niskiego napięcia prądu przemiennego i prądu stałego, do ochrony i monitorowania, powinny odpowiadać wymaganiom wieloczęściowego HD 60364.

11.5 Wyposażenie elektryczne jest rozpatrywane jedynie w takim zakresie, w jakim jego dobór i zastosowanie są związane z instalacją elektryczną.

Dotyczy to również zespołów wyposażenia elektrycznego zgodnego ze stosownymi normami.

Powołania normatywne

Do stosowania niniejszego dokumentu są niezbędne podane niżej dokumenty powołane. W przypadku powołań datowanych ma zastosowanie wyłącznie wydanie cytowane. W przypadku powołań niedatowanych stosuje się ostatnie wydanie dokumentu powołanego (łącznie ze zmianami).

Powołania normatywnePowołania normatywne

Wymagania podstawowe

UWAGA 1: W odniesieniu do państw, które – nie dysponując jeszcze własnymi uregulowaniami z zakresu instalacji elek- trycznych – uznają za niezbędne ustalenie w tym celu prawnych wymagań, zaleca się, aby takie wymagania były ograni- czone do zasad podstawowych, które – z uwagi na postęp techniczny – nie będą przedmiotem częstych modyfikacji. Treść Rozdziału 13 może być wykorzystana jako podstawa takich uregulowań.

UWAGA 2: Niniejszy rozdział zawiera wymagania podstawowe. W innych częściach niniejszej normy mogą być podane wymagania bardziej szczegółowe.

131 Ochrona dla zapewnienia bezpieczeństwa

131.1 Postanowienia ogólne

Podane wymagania od 131.2 do 131.7 mają zapewnić bezpieczeństwo ludziom, żywemu inwentarzowi i mieniu przed zagrożeniami i szkodami, jakie mogą powstawać przy właściwym użytkowaniu instalacji elektrycznych. Wymagania te, przeznaczone do zapewnia bezpieczeństwa żywego inwentarza, mają zastosowanie w prze- znaczonych dla niego miejscach.

UWAGA: W instalacjach elektrycznych mogą wystąpić następujące zagrożenia:

  • prądy rażeniowe;
  • nadmierne temperatury, mogące spowodować oparzenia, pożar i inne szkodliwe skutki;
  • zapłon potencjalnie wybuchowej atmosfery;
  • obniżone napięcia, przepięcia, wpływy elektromagnetyczne mogące powodować lub prowadzić do porażenia lub uszkodzenia;
  • przerwy w zasilaniu i/lub rozłączenie urządzeń bezpieczeństwa;
  • wyładowanie łukowe mogące wywołać efekty oślepiające, nadmierne ciśnienie i/lub gazy toksyczne;
  • ruch mechaniczny uruchamianych elektrycznie urządzeń.

131.2 Ochrona przed porażeniem elektrycznym

131.2.1 Ochrona podstawowa (ochrona przed dotykiem bezpośrednim)

UWAGA: W przypadku instalacji, sieci i urządzeń niskonapięciowych ochrona podstawowa odpowiada zwykle ochronie przed dotykiem bezpośrednim.

Należy zapewnić ochronę ludzi i zwierząt domowych przed zagrożeniami, które mogą powstawać w wyniku dotyku czynnych części instalacji.

Ochrona ta może być osiągnięta jedną z następujących metod:

  • zapobiegnięcie przepływowi prądu przez ciało jakiejkolwiek osoby lub zwierzęcia;
  • ograniczenie do niegroźnej wartości prądu, który może przepłynąć przez ciało.

131.2.2 Ochrona przy uszkodzeniu (ochrona przy dotyku pośrednim)

UWAGA: W przypadku instalacji, sieci i urządzeń niskonapięciowych, ochrona przy uszkodzeniu odpowiada zwykle ochronie przy dotyku pośrednim, głównie z uwagi na uszkodzenie izolacji podstawowej.

Należy zapewnić ochronę ludzi i zwierząt domowych przed zagrożeniami, które mogą powstawać w wyniku dotyku dostępnych części przewodzących instalacji.

Ochrona ta może być osiągnięta jedną z następujących metod:

  • zapobiegnięcie przepływowi przez ciało człowieka lub zwierzęcia prądu wynikającego z uszkodzenia;
  • ograniczenie do niegroźnej wartości prądu wynikającego z uszkodzenia, który może przepłynąć przez ciało jakiejkolwiek osoby lub zwierzęcia;
  • ograniczenie do niegroźnej wartości czasu trwania prądu wynikającego z uszkodzenia, który może przepływać przez ciało.

131.3 Ochrona przed skutkami cieplnymi

Instalacja elektryczna powinna być wykonana tak, aby zminimalizowane zostało ryzyko uszkodzenia lub zapalenia materiałów palnych wskutek wysokiej temperatury lub łuku elektrycznego. Ponadto, podczas normalnej pracy urządzenia elektrycznego nie powinno istnieć ryzyko poparzenia ludzi lub zwierząt domowych.

131.4 Ochrona przed przeciążeniami

Ludzi i zwierzęta domowe należy chronić przed obrażeniami, a mienie przed uszkodzeniem wskutek nadmiernych temperatur lub naprężeń elektromechanicznych wywołanych przez jakiekolwiek, możliwe do wystąpienia w przewodach prądy przeciążeniowe.

Ochrona może być osiągnięta przez ograniczenie prądu przeciążeniowego do bezpiecznej wartości lub czasu jego trwania.

131.5 Ochrona przed prądami zwarciowymi

Przewody inne niż przewody czynne oraz jakiekolwiek inne części przeznaczone do przewodzenia prądu zwarciowego powinny być zdolne przewodzić ten prąd bez osiągnięcia nadmiernej temperatury. Urządzenia elektryczne, z przewodami włącznie, powinny być zaopatrzone w mechaniczną ochronę przed naprężeniami elektromechanicznymi od prądów zwarciowych, konieczną do zapobieżenia obrażeniom lub uszkodzeniom osób, zwierząt lub mienia.

Przewody czynne powinny być chronione przed prądami przeciążeniowymi, powstającymi pod wpływem uszko- dzeń, metodami podanymi w 131.4.

UWAGA: Zaleca się zwrócenie szczególnej uwagi na prądy przewodów PE i przewodów uziemiających.

131.6 Ochrona przed zakłóceniami napięciowymi i środki przeciw oddziaływaniom elektromagnetycznym

131.6.1 Ludzi i zwierzęta domowe należy chronić przed urazami, a mienie przed jakimikolwiek szkodliwymi skutkami, będącymi konsekwencją zwarcia między częściami czynnymi obwodów zasilanych różnymi napię- ciami.

131.6.2 Ludzi i zwierzęta domowe należy chronić przed urazami, a mienie przed uszkodzeniami, będącymi konsekwencją przepięć, takich jak powodowane wyładowaniami atmosferycznymi lub czynnościami łączenio- wymi.

UWAGA: Ochrona przed bezpośrednimi uderzeniami piorunów, patrz norma wieloczęściowa EN 62305.

131.6.3: Ludzi i zwierzęta domowe należy chronić przed urazami, a mienie przed uszkodzeniami będącymi konsekwencją obniżonego napięcia i jakiegokolwiek późniejszego powrotu napięcia.

131.6.4 Instalacja powinna mieć odpowiedni poziom odporności na zakłócenia elektromagnetyczne, tak aby mogła działać prawidłowo w określonym środowisku. Projekt instalacji powinien uwzględniać przewidywane promieniowania elektromagnetyczne, generowane przez instalację lub zainstalowane urządzenia, które powinny być właściwe dla stosowanych w instalacji lub do niej przyłączonych odbiorników prądowych.

131.7 Ochrona przed przerwaniem zasilania

Tam, gdzie spodziewane jest wystąpienie niebezpieczeństwa lub uszkodzenia wskutek przerwy w zasilaniu, należy zapewnić stosowne rezerwy w instalacji lub w zainstalowanych urządzeniach.

Projektowanie

132.1 Postanowienia ogólne

Przy projektowaniu instalacji elektrycznej należy wziąć pod uwagę następujące czynniki, aby zapewnić

  • ochronę ludzi, zwierząt domowych i mienia zgodnie z Rozdziałem 131;
  • prawidłowe, zgodne z przeznaczeniem, działanie instalacji elektrycznej.

Informacje, służące za podstawę do projektowania, są podane w 132.2 do 132.5. Wymagania, którym projekt powinien odpowiadać, są ustalone w 132.6 do 132.12.

132.2 Charakterystyki dostępnego zasilania lub zasilań

Przy projektowaniu instalacji elektrycznych zgodnie z dokumentem wieloczęściowym HD 60364 niezbędna jest znajomość danych charakterystycznych zasilania. Stosowne informacje, pochodzące od operatora sieci są niezbędne do zaprojektowania – zgodnie z dokumentem wieloczęściowym HD 60364 – bezpiecznej instalacji. W celu wykazania zgodności z dokumentem wieloczęściowym HD 60364, dane charakterystyczne zasilania powinny być włączone do dokumentacji. Jeżeli operator sieci zmieni dane charakterystyczne zasilania, to może to mieć wpływ na bezpieczeństwo instalacji.

132.2.1 Rodzaj prądu: przemienny i/lub stały.

132.2.2 Funkcje przewodów:

  • w przypadku prądu przemiennego: przewód lub przewody liniowe; przewód neutralny; przewód ochronny.
  • w przypadku prądu stałego: przewód lub przewody liniowe;
  • przewód środkowy; przewód ochronny.

UWAGA: Funkcja niektórych przewodów może być zespolona w pojedynczym przewodzie.

132.2.3 Wartości i dopuszczalne odchylenia:

  • napięcie i dopuszczalne odchylenia napięcia;
  • przerwy napięciowe, wahania napięcia i zapady napięcia;
  • częstotliwość i dopuszczalne odchylenia częstotliwości;
  • maksymalny prąd dopuszczalny;
  • impedancja pętli zwarciowej po stronie zasilania złącza instalacji;
  • spodziewane prądy zwarciowe.

132.2.4 Środki ochrony związane w sposób naturalny z układem zasilania, np. uziemienie punktu neutralnego lub środkowego

132.2.5 Wymagania szczególne dostawcy energii elektrycznej

132.3 Rodzaj wymagań

Liczba i rodzaj obwodów przeznaczonych do oświetlenia, ogrzewania, napędów, sterowania, sygnalizacji, przekazywania informacji, telekomunikacji itd. powinny być ustalone przez podanie:

  • lokalizacji miejsc poboru mocy;
  • spodziewanych obciążeń w różnych obwodach;
  • dziennej i rocznej zmiany obciążeń;
  • innych specjalnych warunków, takich jak związane ze składowymi harmonicznymi;
  • wymagań dotyczących sterowania, sygnalizacji, przesyłu informacji, telekomunikacji itp.;
  • przewidywane w przyszłości zapotrzebowanie, jeżeli jest sprecyzowane.

132.4 Układy zasilania elektrycznego instalacji bezpieczeństwa lub źródło zasilania awaryjnego

  • Źródło zasilania (rodzaj, dane charakterystyczne).
  • Obwody zasilane przez źródło elektryczne instalacji bezpieczeństwa lub źródło zasilania awaryjnego.

132.5 Warunki środowiskowe

Projekt instalacji elektrycznej powinien uwzględniać warunki środowiskowe, w jakich ona będzie pracować, patrz: HD 60364-5-51 i EN 60721.

132.6 Przekrój przewodów

Przekrój poprzeczny przewodów powinien być określony zarówno dla warunków normalnej pracy, jak i dla warunków zwarciowych stosownie do:

a) maksymalnej ich dopuszczalnej temperatury;

b) dopuszczalnego spadku napięcia;

c) naprężeń elektromechanicznych, jakie mogą wystąpić z powodu prądów zwarć doziemnych i międzyprzewodowych;

d) innych naprężeń mechanicznych, na jakie mogą być narażone przewody;

e) impedancji maksymalnej z uwagi na działanie zabezpieczeń przed prądami zwarciowymi;

f) metody instalacyjnej.

UWAGA: Wyszczególnione powyżej pozycje dotyczą przede wszystkim bezpieczeństwa instalacji elektrycznych. Przekroje przewodów większe niż wymagane ze względów bezpieczeństwa mogą być pożądane ze względów ekonomicznych.

132.7 Oprzewodowanie i sposoby instalowania

Przy doborze rodzaju oprzewodowania i sposobu instalowania należy brać pod uwagę:

  • rodzaj lokalizacji;
  • rodzaj ścian lub innych części budynku utrzymującego oprzewodowanie;
  • dostępność oprzewodowania dla osób i żywego inwentarza;
  • napięcie;
  • narażenia elektromechaniczne możliwe do wystąpienia wskutek prądów zwarć doziemnych i międzyprzewodowych;
  • zakłócenia elektromagnetyczne;
  • inne narażenia, jakim może być poddane oprzewodowanie podczas montażu lub eksploatacji instalacji elektrycznej.

132.8 Urządzenia zabezpieczające

Rodzaje i dane znamionowe urządzeń zabezpieczających powinny być dobrane z uwagi na ich funkcję, jaką może być np. zabezpieczenie przed skutkami:

  • przetężenia (przeciążenia, zwarcia);
  • prądu zwarcia doziemnego;
  • przepięcia;
  • obniżonego napięcia i braku napięcia.

Urządzenia zabezpieczające powinny działać przy wartościach prądu, napięcia i czasu – właściwie dostosowanych do parametrów obwodów i do możliwości zagrożenia.

132.9 Wyłączenie awaryjne

Gdy w razie niebezpieczeństwa konieczne jest natychmiastowe wyłączenie zasilania, urządzenie wyłączające powinno być zainstalowane w taki sposób, aby było łatwo rozpoznawalne oraz szybko i skutecznie uruchomiane.

132.10 Urządzenia rozłączające

Urządzenia rozłączające powinny być zastosowane w taki sposób, aby pozwalały na łączenie i/lub odłączenie instalacji elektrycznej, obwodów lub poszczególnych aparatów, jeżeli jest to wymagane ze względu na pracę, sprawdzenie, wykrywanie uszkodzenia, wykonywanie prób, konserwację i naprawę.

132.11 Zapobieganie wzajemnemu szkodliwemu oddziaływaniu

Instalacja elektryczna powinna być wykonana tak, aby nie występowało wzajemne szkodliwe oddziaływanie między instalacjami elektrycznymi a instalacjami nieelektrycznymi.

132.12 Dostępność wyposażenia elektrycznego

Wyposażenie elektryczne powinno być zastosowane w taki sposób, aby zapewnić w stopniu koniecznym:

  • wystarczającą przestrzeń dla początkowego montażu i późniejszej wymiany poszczególnych elementów wyposażenia elektrycznego;
  • dostępność dla obsługi, sprawdzania, wykrywania uszkodzeń, wykonywania prób, konserwacji i napraw.

132.13 Dokumentacja instalacji elektrycznej

Każda instalacja elektryczna powinna mieć odpowiednią dokumentację.

133 Dobór wyposażenia elektrycznego

133.1 Postanowienia ogólne

Każdy element wyposażenia powinien spełniać wymagania właściwych Norm Europejskich (EN), Dokumentów Harmonizacyjnych (HD) lub normy krajowej wdrażającej dokument HD. W przypadku braku właściwej EN lub HD, urządzenie powinno spełniać wymagania odpowiedniej normy krajowej. W innych przypadkach, bazując na decyzjach Komitetu Krajowego, można odwołać się albo do norm IEC, które nie są aprobowane przez CENELEC, albo do norm krajowych innego państwa. Tam gdzie brak jest odpowiednich norm, element wyposażenia powinien być dobierany na zasadzie specjalnego uzgodnienia pomiędzy osobą specyfikującą instalację a instalatorem.

133.2 Parametry techniczne

Każdy element dobranego wyposażenia elektrycznego powinien mieć odpowiednie parametry techniczne do- stosowane do wartości i warunków, na których jest oparty projekt instalacji elektrycznej (patrz Rozdział 132), i powinien w szczególności spełniać poniższe wymagania.

133.2.1 Napięcie

Wyposażenie elektryczne powinno być dobierane ze względu na maksymalne napięcie w stanie ustalonym (wartość skuteczną w przypadku prądu przemiennego), jak również na możliwe do wystąpienia przepięcia.

UWAGA: W pewnych przypadkach określonego wyposażenia może być wymagane uwzględnienie najniższych wartości napięć, które mogą wystąpić.

133.2.2 Prąd

Całe wyposażenie elektryczne powinno być dobierane ze względu na maksymalny prąd ustalony (wartość skuteczną w przypadku prądu przemiennego), jaki to wyposażenie musi przewodzić w normalnych warunkach eksploatacji oraz ze względu na prąd mogący wystąpić w warunkach awaryjnych i w czasie (np. w czasie dzia- łania zabezpieczeń, jeżeli istnieją), w jakim może być spodziewany jego przepływ.

133.2.3 Częstotliwość

Jeżeli częstotliwość ma wpływ na właściwości wyposażenia elektrycznego, to jego znamionowa częstotliwość powinna odpowiadać częstotliwości, jaka może wystąpić w danym obwodzie.

133.2.4 Współczynnik obciążenia

Całe wyposażenie elektryczne, które jest dobierane na podstawie jego charakterystyki mocy, powinno być dostosowane do wymaganego obciążenia z uwzględnieniem przewidywanych warunków eksploatacji, patrz IEV 691-10-02.

133.3 Warunki instalowania

Całe wyposażenie elektryczne powinno być dobrane tak, aby bezpiecznie wytrzymywało naprężenia i warunki środowiskowe (patrz 132.5), charakterystyczne dla miejsca zainstalowania, na jakie może być ono narażone. Jeżeli jednak jakiś element wyposażenia nie ma wymaganych właściwości odpowiadających jego miejscu za- instalowania, to może być on zastosowany pod warunkiem, że jest zapewnione odpowiednie zabezpieczenie dodatkowe, stanowiące część kompletnej instalacji elektrycznej.

133.4 Zapobieganie szkodliwym skutkom

Całe wyposażenie elektryczne powinno być dobrane tak, aby nie powodowało szkodliwych skutków w innym wyposażeniu lub nie wpływało ujemnie na zasilanie podczas normalnej eksploatacji łącznie z procesami łączeniowymi. W tym kontekście do czynników, które mogą mieć wpływ, należą np.:

  • współczynnik mocy;
  • prąd rozruchowy;
  • niesymetryczne obciążenie;
  • wyższe harmoniczne;
  • przepięcia przejściowe generowane przez urządzenia w instalacji.

134 Montaż i sprawdzanie odbiorcze instalacji elektrycznych

134.1 Montaż

134.1.1 Dobra jakość montażu instalacji elektrycznej powinna być zapewniona dzięki zaangażowaniu kompetentnych osób i użyciu właściwych materiałów. Wyposażenie elektryczne powinno być instalowane zgodnie z instrukcjami dostarczonymi przez producentów tego wyposażenia.

134.1.2 Podczas montażu nie powinny ulegać pogorszeniu, określone zgodnie z Rozdziałem 133, parametry techniczne wyposażenia elektrycznego.

134.1.3 Przewody powinny być oznaczone zgodnie z EN 60446. Jeżeli niezbędna jest identyfikacja zacisków, to powinny być one oznaczone zgodnie z EN 60445.

134.1.4 Połączenia między przewodami i między przewodami a innym wyposażeniem elektrycznym powinny być wykonane w taki sposób, aby zapewniony był bezpieczny i pewny styk.

134.1.5 Całe wyposażenie elektryczne powinno być zainstalowane tak, aby nie zostały pogorszone zaprojektowane warunki chłodzenia.

134.1.6 Całe wyposażenie elektryczne mogące powodować wysokie temperatury lub powstawanie łuków elektrycznych powinno być umieszczone lub osłonięte tak, aby zminimalizowane było ryzyko zapalenia materiałów palnych. Jeżeli temperatura jakichkolwiek dostępnych części wyposażenia elektrycznego może spowodować poparzenie ludzi, to części te należy umieścić lub osłonić tak, aby uniemożliwić przypadkowy ich dotyk.

134.1.7 Jeżeli ze względów bezpieczeństwa są niezbędne odpowiednie sygnały i/lub napisy ostrzegawcze, to powinny być one zapewnione.

134.1.8 Jeżeli instalacja jest wykonywana przy użyciu nowych materiałów, wynalazków lub metod prowadzących do odstępstw od zasad dokumentu wieloczęściowego HD 60364, to wynikowy stopień bezpieczeństwa instalacji nie powinien być mniejszy niż uzyskiwany zgodnie z dokumentem wieloczęściowym HD 60364.

134.1.9 W przypadku uzupełnienia lub zmiany istniejącej instalacji, należy się upewnić, że dane znamionowe i stan istniejącego wyposażenia, które będzie musiało wytrzymywać jakiekolwiek dodatkowe obciążenie, będzie w zmienionych warunkach odpowiednie. Ponadto, odpowiednie powinny być układy uziemień i połączeń wyrównawczych – jeżeli są niezbędne, jako środek ochrony zastosowany dla bezpieczeństwa tego uzupełnienia lub zmiany.

134.2 Sprawdzanie odbiorcze

Instalacje elektryczne powinny być zweryfikowane, przed ich oddaniem do eksploatacji i po każdej znaczącej modyfikacji, w celu potwierdzenia właściwego wykonania robót zgodnie z wymaganiami niniejszej normy.

134.3 Sprawdzanie okresowe

Zaleca się, aby każda instalacja elektryczna była poddawana okresowemu sprawdzeniu.

Terminy i definicje

Do celów niniejszego dokumentu zastosowanie mają terminy i definicje z IEC 60050-826. Dalsze objaśnienia różnych terminów z IEV 826, patrz Załącznik B.

Ustalanie ogólnych charakterystyk

Ustalanie wyszczególnionych niżej właściwości instalacji powinno być dokonywane zgodnie z przywołanymi rozdziałami:

  • przeznaczenie danej instalacji, jej ogólna struktura i sposób zasilania (Rozdziały 31, 35 oraz 36);
  • wpływy zewnętrzne, na jakie dana instalacja jest narażona (Rozdział 32);
  • kompatybilność wyposażenia instalacji (Rozdział 33);
  • łatwość konserwacji instalacji (Rozdział 34).

Powyższe właściwości powinny być uwzględniane przy doborze metod ochrony dla zapewnienia bezpieczeństwa (patrz HD 60364-4-41 do IEC 60364-4-44) oraz przy doborze i montażu wyposażenia (HD 60364-5-51 do IEC 60364-5-55).

UWAGA: W przypadku innych typów instalacji, na przykład instalacji telekomunikacyjnych lub elektronicznych systemów domowych i budowlanych (HBES) itd., w grę wchodzą – właściwe dla typu rozpatrywanej instalacji – normy CENELEC lub IEC. W przypadku instalacji telekomunikacyjnych powinny być brane pod uwagę również publikacje ITU-T i ITU-R.

Przeznaczenie, zasilanie i struktura

Maksymalne zapotrzebowanie mocy i niejednoczesność

Przy projektowaniu ekonomicznej i niezawodnej instalacji w granicach dopuszczalnego nagrzewania i dopuszczalnych spadków napięcia zasadniczą sprawą jest ustalenie maksymalnej mocy zapotrzebowanej. Przy ustalaniu maksymalnej mocy zapotrzebowanej dla instalacji, lub jej części, może być brana pod uwagę niejednoczesność.

312 Układ przewodów i jego uziemienie

Należy ustalić następujące cechy charakterystyczne:

  • układy przewodów prądowych w normalnych warunkach pracy;
  • rodzaje układów uziemienia.

312.1 Przewody prądowe w zależności od rodzaju prądu

UWAGA: Podany w niniejszym punkcie opis układów przewodów nie jest kompletny. Zawiera on przykłady typowych układów. Zaleca się zgłoszenie do CENELEC innych układów.

W niniejszej normie uwzględniono następujące układy przewodów prądowych w normalnych warunkach pracy:

Rysunek 1Rysunek 1


Rysunek 2Rysunek 2

Rysunek 3Rysunek 3

Rysunek 4Rysunek 4


Rysunek 5Rysunek 5

Trójfazowy, 4-przewodowy z przewodem neutralnym lub przewodem PEN. Zgodnie z definicją PEN nie jest przewodem czynnym, ale przewodem przewodzącym prąd roboczy.

UWAGA 1: W przypadku układu jednofazowego 2-przewodowego, który pochodzi z układu trójfazowego 4-przewodowego, te dwa przewody są albo dwoma przewodami liniowymi, albo przewodem liniowym i przewodem neutralnym lub przewodem liniowym i przewodem PEN.

UWAGA 2: W instalacjach z całkowitym obciążeniem włączonym między fazy, instalacja przewodu neutralnego może nie być konieczna.

312.1.2 Przewody prądowe w obwodach prądu stałego

Rysunek 6 i 7Rysunek 6 i 7

UWAGA: Przewody PEL i PEM nie są przewodami czynnymi, chociaż przewodzą one prąd roboczy. Zatem stosuje się oznaczenie układu 2-przewodowego lub układu 3-przewodowego.

312.2 Rodzaje uziemienia układu

W niniejszej normie wzięto pod uwagę następujące rodzaje uziemienia układu.

UWAGA 1: Rysunki od 31A1 do 31G1 i Rysunki od A.1 do A.3 przedstawiają przykłady powszechnie stosowanych układów trójfazowych. Rysunki od 31H do 31M i Rysunki od A.4 do A.6 przedstawiają przykłady powszechnie stosowanych układów prądu stałego.

UWAGA 2: Linie przerywane pokazują części układu, które nie są objęte zakresem tej normy, podczas gdy linie ciągłe pokazują część, która jest objęta tą normą.

UWAGA 3: W przypadku układów prywatnych, źródło i/lub układ rozdzielczy mogą być rozpatrywane jako część instalacji w znaczeniu niniejszej normy. Dla tego przypadku, rysunki mogą być przedstawione w całości liniami ciągłymi.

UWAGA 4: Użyte symbole mają następujące znaczenie:

Pierwsza litera – Powiązanie układu sieci z ziemią:

T=bezpośrednie połączenie jednego punktu z ziemią;

I=wszystkie części czynne izolowane od ziemi lub jeden punkt połączony z ziemią przez dużą impedancję.

Druga litera – Powiązanie części przewodzących dostępnych instalacji z ziemią:

T = bezpośrednie połączenie elektryczne części przewodzących dostępnych z ziemią, niezależnie od uziemienia jakiegokolwiek punktu układu sieci;

N = bezpośrednie połączenie elektryczne części przewodzących dostępnych z uziemionym punktem układu sieci (w układach prądu przemiennego, uziemionym punktem układu sieci jest zwykle punkt neutralny, lub – jeżeli punkt neutralny nie jest dostępny – przewód liniowy).

Dalsza(-e) litera(-y), jeżeli występują – Powiązanie przewodu neutralnego z przewodem ochronnym:

S = funkcję ochronną zapewnia przewód oddzielony od przewodu neutralnego lub uziemionego przewodu liniowego (albo uziemionego przewodu fazowego w układzie sieci prądu przemiennego).

C = funkcje: neutralna i ochronna zespolone w jednym wspólnym przewodzie (przewód PEN).

Tabela 1Tabela 1

312.2.1 Układy TN

312.2.1.1 Układy z pojedynczym źródłem

Układy sieci TN mają jeden punkt bezpośrednio uziemiony przy źródle, a części przewodzące dostępnej in- stalacji są łączone z tym punktem za pomocą przewodów ochronnych. W zależności od powiązania przewodu neutralnego z przewodem ochronnym wyróżnia się trzy następujące rodzaje układu sieci TN:

  • Układ TN-S, w którym oddzielny przewód ochronny jest stosowany na całej długości (przykłady są podane na Rysunku 31A1 oraz w A.1, na Rysunkach A.31A2 i A.31A3).

UWAGA: Odnośnie do symboli, patrz objaśnienie podane w 312.2.

Rysunek 31A1 – Układ TN-S z oddzielnym przewodem neutralnym i ochronnym na całej jego długości.Rysunek 31A1 – Układ TN-S z oddzielnym przewodem neutralnym i ochronnym na całej jego długości.


UWAGA: W instalacji może być zapewnione dodatkowe uziemienie PE.

Układ TN-C-S, w którego części funkcje przewodu neutralnego i ochronnego pełni jeden wspólny przewód (przykłady są podane na Rysunku 31B1 i w A.1, na Rysunkach A.31B2 i A.31B3).

UWAGA: Odnośnie do symboli, patrz objaśnienie podane w 312.2.

Rysunek 31B1 – Układ TN-C-S 3-fazowy, 4-przewodowy, w którym PEN – w określonym miejscu instalacji – jest rozdzielony na PE i NRysunek 31B1 – Układ TN-C-S 3-fazowy, 4-przewodowy, w którym PEN – w określonym miejscu instalacji – jest rozdzielony na PE i N


Funkcje przewodu neutralnego i ochronnego w części układu pełni jeden wspólny przewód

UWAGA: W instalacji może być zapewnione dodatkowe uziemienie PEN lub PE

Układ TN-C: w którym na całej długości funkcje przewodu neutralnego i przewodu ochronnego pełni jeden wspólny przewód (patrz Rysunek 31C1).

UWAGA: Odnośnie do symboli, patrz objaśnienie podane w 312.2.


Rysunek 31C1 – Układ TN-C z jednym wspólnym przewodem pełniącym na całej długości funkcje przewodu neutralnego i ochronnego.Rysunek 31C1 – Układ TN-C z jednym wspólnym przewodem pełniącym na całej długości funkcje przewodu neutralnego i ochronnego.

UWAGA: W instalacji może być zapewnione dodatkowe uziemienie PEN

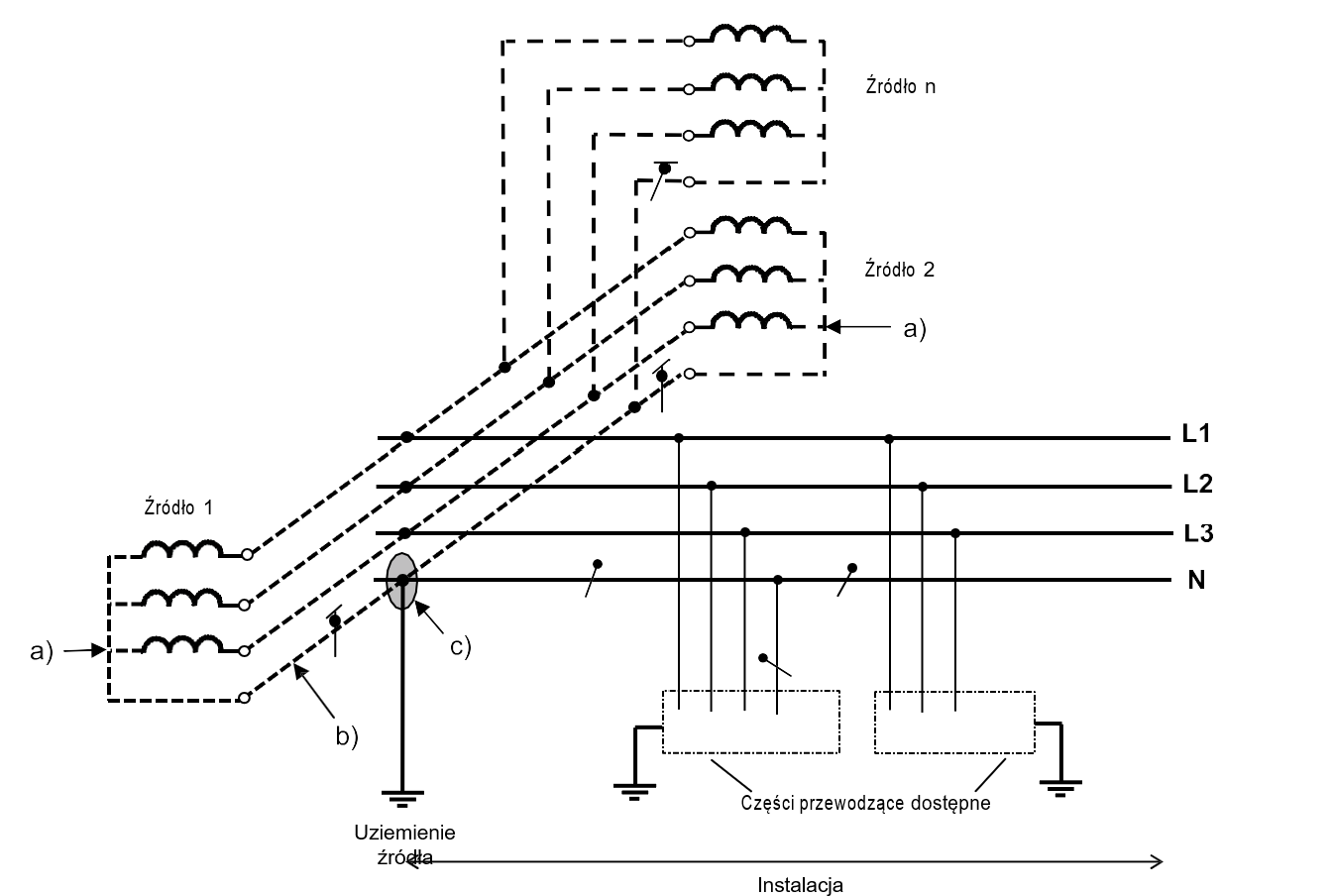
312.2.1.2 Układy wieloźródłowe

W przypadku niewłaściwego projektu instalacji, tworzącej część układu TN z wieloma źródłami, część prądu roboczego może płynąć nieprzewidzianymi drogami. Prąd ten może powodować

  • pożar;
  • korozję;
  • zakłócenie elektromagnetyczne.

Układ pokazany na Rysunku 31D1 jest układem, w którym drugorzędne częściowe prądy robocze płyną przez nieprzewidziane drogi. Podstawowe zasady projektowe pokazane na Rysunku 31D1 od a) do d) są zamiesz- czone w objaśnieniach pod Rysunkiem 31D1 (dalszy przykład dotyczący zastosowań bez przewodu N, przed- stawiono w A.1, Rysunek A.31D2).

Oznakowanie przewodu PE powinno być zgodne z EN 60446.

Każda rozbudowa układu powinna być brana pod uwagę z uwagi na prawidłowe działanie środków ochrony.

Rysunek 31D1 – Układ wieloźródłowy TN-C-S z oddzielnym przewodem ochronnym i przewodem neutralnym do odbiornika.Rysunek 31D1 – Układ wieloźródłowy TN-C-S z oddzielnym przewodem ochronnym i przewodem neutralnym do odbiornika.

Objaśnienia

a) Nie dopuszcza się żadnego bezpośredniego połączenia ani punktu neutralnego transformatora, ani punktu gwiazdowego generatora z ziemią.

b) Przewód połączenia sprzęgającego albo pomiędzy punktami neutralnymi transformatorów, albo między punktami gwiazdowymi generatora powinien być izolowany. Funkcja tego przewodu jest taka jak PEN; jednak nie powinien być on przyłączony do odbiornika.

c) Powinno być zapewnione tylko jedno połączenie pomiędzy wzajemnie połączonymi punktami neutralnymi źródeł a PE. Połączenie to powinno być usytuowane wewnątrz głównego zespołu aparatury rozdzielczej.

d) W instalacji może być zapewnione dodatkowe uziemienie PE.

312.2.2 Układy TT

312.2.2.1 Układy jednoźródłowe

Układ sieci TT ma jeden punkt bezpośrednio uziemiony, a części przewodzące dostępnej instalacji są przy- łączone do uziomów niezależnych elektrycznie od uziomu układu zasilania. (patrz Rysunek 31E1 i w A.2, Rysunek A.31E2):

Rysunek 31E1 – Układ TT z oddzielnym przewodem neutralnym i przewodem ochronnym wzdłuż całej instalacjiRysunek 31E1 – Układ TT z oddzielnym przewodem neutralnym i przewodem ochronnym wzdłuż całej instalacji


UWAGA: W instalacji może być zapewnione dodatkowe uziemienie PE.

312.2.2.2 Układy wieloźródłowe

W przypadku niewłaściwego projektu instalacji, tworzącej część układu TT z wieloma źródłami, część prądu roboczego może płynąć nieprzewidzianymi drogami. Prąd ten może powodować

  • pożar;
  • korozję;
  • zakłócenie elektromagnetyczne.

Układ pokazany na Rysunku 31F1 jest układem, w którym drugorzędne częściowe prądy robocze płyną przez nieprzewidziane drogi. Podstawowe zasady projektowe pokazane na Rysunku 31F1 od a) do c) są zamiesz- czone w objaśnieniach pod Rysunkiem 31F1.

Oznakowanie przewodu PE powinno być zgodne z EN 60446.

Każda rozbudowa układu powinna być brana pod uwagę z uwagi na prawidłowe działanie środków ochrony.

W przypadku zasilania instalacji z wieloźródłowego układu TT zaleca się, aby punkty gwiazdowe różnych źró- deł były, ze względu na EMC, połączone wzajemnie i przyłączone do ziemi centralnie w jednym tylko punkcie; patrz Rysunek 31F1.

Rysunek 31F1 – Zasilanie instalacji w wieloźródłowym układzie TT z przyłączeniem do ziemi punktów gwiazdowych w tym samym punkcieRysunek 31F1 – Zasilanie instalacji w wieloźródłowym układzie TT z przyłączeniem do ziemi punktów gwiazdowych w tym samym punkcie

Objaśnienia

a) Nie dopuszcza się żadnego bezpośredniego połączenia ani punktu neutralnego transformatora, ani punktu gwiazdowego generatora z ziemią.

b) Przewód połączenia sprzęgającego albo pomiędzy punktami neutralnymi transformatorów albo między punktami gwiaz- dowymi generatora powinien być izolowany. Przewód działa jak przewód PEN i może być on tak samo oznakowany, jednak nie powinien być przyłączony do odbiornika prądowego i powinno być dołączone do niego lub w jego pobliżu ostrzeżenie o tym zjawisku.

c) Powinno być zapewnione tylko jedno połączenie pomiędzy wzajemnie połączonymi punktami neutralnymi źródeł a PE. Połączenie to powinno być usytuowane wewnątrz głównego zespołu aparatury rozdzielczej.

312.2.3 Układ IT

Układ sieci IT ma wszystkie części czynne odizolowane od ziemi albo jeden punkt przyłączony przez impedancję do ziemi. Części przewodzące dostępnej instalacji elektrycznej są uziemione niezależnie albo zbiorowo, albo są przyłączone do uziemienia układu sieci zgodnie z 413.1.5 w HD 60364-4-41 (patrz Rysunek 31G1 i w A.3, Rysunki A.31G2, A.31G3 i A.31G4):


Rysunek 31G1 – Układ IT z wszystkimi częściami przewodzącymi dostępnymi wzajemnie połączonymi za pomocą zbiorowo uziemionego przewodu ochronnegoRysunek 31G1 – Układ IT z wszystkimi częściami przewodzącymi dostępnymi wzajemnie połączonymi za pomocą zbiorowo uziemionego przewodu ochronnego

UWAGA: W instalacji może być przewidziane dodatkowe uziemienie PE.

1) Układ może być połączony z ziemią przez dostatecznie dużą impedancję. Połączenie to może być wykonane na przy- kład: przy punkcie neutralnym, sztucznym punkcie neutralnym lub przewodzie liniowym.

2)  Przewód neutralny może być lub może nie być rozprowadzony.

312.2.4 Układy DC

Typ uziemienia dotyczący układów prądu stałego (d.c.).

Tam gdzie następujące Rysunki 31H do 31K pokazują uziemienie jednego bieguna w dwuprzewodowym ukła-dzie prądu stałego, tam decyzja, czy uziemić biegun dodatni, czy ujemny powinna opierać się na warunkach eksploatacyjnych lub innych względach – na przykład unikania wpływów korozji na przewody liniowe i układy uziemiające.

312.2.4.1 Układ TN-S

Uziemiony przewód liniowy, na przykład L-, jak pokazano na Rysunku 31H1, lub uziemiony przewód punktu środkowego M, jak pokazano w A.4 na Rysunku A.31H2, jest oddzielony od przewodu ochronnego wzdłuż całej instalacji.

Rysunek 31H1 – Układ TN-S prądu stałego (d.c.)Rysunek 31H1 – Układ TN-S prądu stałego (d.c.)


UWAGA: W instalacji może być przewidziane dodatkowe uziemienie PE

312.2.4.2 Układ TN-C

Funkcje uziemionego przewodu liniowego, na przykład L-, i przewodu ochronnego są zespolone – jak pokazano na Rysunku 31J1 – w jednym pojedynczym przewodzie PEL na całej długości instalacji, lub funkcje uziemionego przewodu środkowego M i przewodu ochronnego są zespolone – jak pokazano w A.4 na Rysunku A.31J2 – w jednym pojedynczym przewodzie PEM na całej długości instalacji.

Rysunek 31J1 – Układ TN-C prądu stałego (d.c.)Rysunek 31J1 – Układ TN-C prądu stałego (d.c.)


UWAGA: W instalacji może być przewidziane dodatkowe uziemienie PEL

312.2.4.3 Układ TN-C-S

Funkcje uziemionego przewodu liniowego, na przykład L-, i przewodu ochronnego są zespolone – jak pokaza- no na Rysunku 31K1, – w jednym pojedynczym przewodzie PEL w części instalacji, lub funkcje uziemionego przewodu środkowego M i przewodu ochronnego są zespolone – jak pokazano w A.4 na Rysunku A.31K2 – w jednym pojedynczym przewodzie PEM w części instalacji.

Rysunek 31K1 – Układ TN-C-S prądu stałego (d.c.)Rysunek 31K1 – Układ TN-C-S prądu stałego (d.c.)

UWAGA: W instalacji może być przewidziane dodatkowe uziemienie PE.

312.2.4.4 Układ TT

Rysunek 31L1 – Układ TT prądu stałego (d.c.)Rysunek 31L1 – Układ TT prądu stałego (d.c.)


UWAGA 1: W instalacji może być przewidziane dodatkowe uziemienie PE. UWAGA 2 Przykład z przewodem PEM pokazuje w A.5, Rysunek A.31L2N1).

312.2.4.5 Układ IT

Rysunek 31M1 – Układ IT prądu stałego (d.c.)Rysunek 31M1 – Układ IT prądu stałego (d.c.)

Układ może być połączony z ziemią przez dostatecznie dużą impedancję.

UWAGA 1: W instalacji może być przewidziane dodatkowe uziemienie PE. UWAGA 2 Przykład z przewodem PEM pokazuje w A.6, Rysunek A.31M2.

Źródła zasilania

313.1 Postanowienia ogólne

313.1.1 Stosując obliczenia, pomiary, wywiad lub sprawdzanie, należy ustalić charakterystyczne cechy zasi-lania z dowolnego źródła lub zasilań oraz, gdzie to właściwe, normalny zakres poniższych cech:

  • napięcie(-a) znamionowe;
  • rodzaj prądu i częstotliwość;
  • spodziewany prąd zwarcia przy złączu instalacji;
  • impedancja pętli zwarć doziemnych części układu na zewnątrz instalacji;
  • odpowiedniość dotycząca wymagań instalacji, w tym maksymalnej mocy zapotrzebowanej; oraz
  • rodzaj i dane znamionowe zabezpieczenia nadprądowego działającego przy złączu instalacji.

Wymienione cechy powinny być potwierdzone dla zewnętrznego źródła zasilania i określone dla własnego źródła zasilania. Wymagania te mają jednakowe zastosowanie dla głównych źródeł zasilania, źródeł zapewniających bezpieczeństwo eksploatacji i źródeł zasilania rezerwowego.

313.2 Źródła zasilania instalacji bezpieczeństwa i układów rezerwowych

Tam gdzie wymagane jest zapewnienie instalacji bezpieczeństwa, na przykład przez władze zainteresowane pożarowymi środkami ostrożności i innymi warunkami dotyczącymi nagłej ewakuacji zabudowań, i/lub gdzie osoba opracowująca specyfikację instalacji powinna zapewnić źródła rezerwowego zasilania, tam cechy charakterystyczne źródeł zasilania instalacji bezpieczeństwa i/lub układów rezerwowych powinny być ustalane oddzielnie. Tego typu źródła zasilania powinny mieć odpowiednią dla specyfiki działania: moc, niezawodność, dane znamionowe i właściwy czas przełączania.

Dalsze wymagania, dotyczące źródeł zasilania instalacji bezpieczeństwa, patrz dalej Rozdział 35 i w IEC 60364-5-55, Rozdział 556. W niniejszej normie nie podano szczegółowych wymagań dla układów zasilania rezerwowego.

314 Podział instalacji

314.1 Każda instalacja powinna być podzielona na oddzielne obwody, jeżeli są potrzebne, aby

  • uniknąć niebezpieczeństwa i zminimalizować niedogodności w przypadku awarii;
  • ułatwić bezpieczne sprawdzanie, badanie i konserwację (patrz również IEC 60364-5-53);
  • uwzględnić zagrożenie, jakie może powstać w wyniku awarii pojedynczego obwodu, takiego jak obwód oświetleniowy;
  • zmniejszyć możliwość niezamierzonego działania RCD wskutek nadmiernych prądów występujących w przewodzie PE mimo braku uszkodzeń;
  • złagodzić skutki EMI;
  • zapobiec pośredniemu pobudzeniu obwodu, który ma być odizolowany.

314.2 W częściach instalacji, które wymagają oddzielnego sterowania, powinny być przewidziane osobne obwody rozdzielcze, tak aby na te obwody nie mogły oddziaływać uszkodzenia, powstające w innych obwodach.

Klasyfikacja wpływów zewnętrznych

UWAGA: Rozdział ten został przeniesiony do HD 60364-5-51.

Kompatybilność

33.1 Kompatybilność cech charakterystycznych

Należy określić charakterystyczne cechy wyposażenia mogące wywierać szkodliwy wpływ na inne wyposaże- nie elektryczne lub na inne instalacje albo powodować prawdopodobne pogorszenie zasilania, na przykład dla koordynacji z zainteresowanymi stronami. Cechy te obejmują na przykład:

  • przepięcia przejściowe;
  • obniżenia napięcia;
  • niezrównoważone obciążenia;
  • szybkie obciążenia pulsujące;
  • prądy rozruchowe;
  • prądy wyższych harmonicznych;
  • sprzężenie zwrotne prądu stałego;
  • drgania wysokiej częstotliwości;
  • prądy upływowe do ziemi;
  • konieczność dodatkowych połączeń z ziemią;
  • nadmierne prądy w przewodzie PE nie wynikające z uszkodzenia.

Kompatybilność elektromagnetyczna

Całe wyposażenie elektryczne powinno spełniać odpowiednie wymagania kompatybilności elektromagnetycznej (EMC) i powinno pozostawać w zgodzie ze stosownymi normami EMC.

Planista i projektant instalacji elektrycznej powinien zwrócić uwagę na środki redukcji skutków zaburzeń od napięć indukowanych i zakłóceń elektromagnetycznych (EMI).

Środki te są podane w IEC 60364-4-44.

Łatwość konserwacji

Celem umożliwienia osiągnięcia założonego czasu użytkowania instalacji elektrycznej należy ustalić częstość i zakres jej konserwacji. Sprawy związane z konserwacją instalacji elektrycznej powinny być uzgadniane z osobami odpowiedzialnymi za jej prawidłowe działanie. Przy określaniu zasad konserwacji należy uwzględ- niać wymagania zawarte w HD 60364, Części od 4 do 6, tak aby w założonym okresie eksploatacji instalacji elektrycznej:

  • konieczne okresowe przeglądy, badania, konserwacja i naprawy mogły być wykonywane w sposób łatwy i bezpieczny, oraz
  • zapewniona była skuteczność działania środków ochrony, oraz
  • niezawodność wyposażenia zapewniała osiągnięcie przewidzianego czasu użytkowania instalacji.

Instalacje bezpieczeństwa

35.1 Postanowienia ogólne

UWAGA 1: Potrzeby dotyczące instalacji bezpieczeństwa i ich charakter są często ustalane przez ustawowe instytucje, których wymagania muszą być przestrzegane.

UWAGA 2: Przykłady instalacji bezpieczeństwa są następujące: oświetlenie ewakuacyjne, systemy alarmu pożarowego, instalowanie pomp przeciwpożarowych, dźwigi dla brygad strażackich, urządzenia wyciągowe dymu i ciepła.

Za źródła do zasilania instalacji bezpieczeństwa uznaje się:

  • baterie akumulatorów;
  • ogniwa galwaniczne;
  • agregaty prądotwórcze niezależne od normalnego zasilania;
  • oddzielną linię zasilającą z sieci rozdzielczej, zdecydowanie niezależną od normalnej linii zasilającej (patrz 556.4.4 w IEC 60364-5-55).

35.2 Klasyfikacja

Instalacja bezpieczeństwa jest:

  • zasilana niesamoczynnie – jeżeli jej uruchomienie jest inicjowane przez operatora, albo
  • zasilana samoczynnie – jeżeli jej uruchomienie jest niezależne od operatora.

Samoczynne zasilanie jest klasyfikowane w zależności od czasu przełączenia, w następujący sposób:

  • brak przerwy: samoczynne zasilanie, które może zapewnić ciągłe zasilanie w określonych warunkach w ciągu okresu przejściowego, np. pod względem zmian w napięciu i częstotliwości;
  • bardzo krótka przerwa: samoczynne zasilanie dostępne w ciągu 0,15 s;
  • krótka przerwa: samoczynne zasilanie dostępne w ciągu 0,5 s;
  • średnia przerwa: samoczynne zasilanie dostępne w ciągu 15 s;
  • długa przerwa: samoczynne zasilanie dostępne w czasie dłuższym niż 15 s.

Ciągłość obsługi

Każdy obwód należy poddać ocenie pod względem potrzeby zapewnienia ciągłości obsługi uznawanej za niezbędną podczas zamierzonego czasu użytkowania instalacji. Należy rozważyć następujące cechy charakterystyczne:

  • selekcja uziemienia układu,
  • selekcja urządzenia zabezpieczającego w celu osiągnięcia zróżnicowania,
  • liczba obwodów,
  • wielokrotne źródła zasilania,
  • użycie urządzeń monitoringu.
Karol, główny inżynier Pewny Lokal

Potrzebujesz profesjonalnej pomocy w odbiorze technicznym?

Rezerwuj online
Karol, główny inżynier Pewny Lokal
Pewny Lokal to największa w Polsce firma inżynieryjna specjalizująca się w odbiorach mieszkań i domów. Co miesiąc pomagamy setkom nabywców w odbiorze nieruchomości od dewelopera. Mamy najwięcej pozytywnych opinii. Dowiedz się, dlaczego warto nam zaufać tutaj.

Poznaj Pewny Lokal

  1. Jesteśmy jedyną w Polsce firmą kompleksowo pomagającą w bezpiecznym zakupie mieszkania zarówno od dewelopera, jak i na rynku wtórnym.
  2. Pomogliśmy ponad 30 000 klientów w odbiorze mieszkania od dewelopera.
  3. Poza odbiorami pomagamy również w analizie umów od dewelopera oraz przeprowadzamy kompleksowe audyty techniczne i prawne na rynku wtórnym.
  4. Wreszcie pomagamy też w innych kwestiach, m.in. audycie działki, badaniu termowizyjnym lub przy sprawdzeniu ekipy wykończeniowej.
  5. Termin odbioru, analizy prawnej lub innej usługi możesz wygodnie zarezerwować online tutaj.

Udostępniamy płatne normy budowlane i co nam zrobicie?

Zapraszamy do wysłuchania 30. odcinka podcastu Pewny Lokal.

Artykuły, które mogą Cię zainteresować

Czym jest odbiór techniczny mieszkania i dlaczego warto go zlecić specjaliście?

Dowiedz się, jak zaoszczędzić czas i nerwy na odbiorze technicznym.

Czy nasz artykuł pomógł Ci w Twoim problemie? Podziel się zdobytą wiedzą ze znajomymi!

Oceń artykuł:

  • grade
  • grade
  • grade
  • grade
  • grade
Kupno mieszkania a lokatorzy
Średnia 5/5 na podstawie 353 opinii.

Potrzebujesz profesjonalnej pomocy w odbiorze technicznym?

Rezerwuj online

Odbierz mieszkanie z Pewny Lokal:

Ogólnopolska skala

Ogólnopolska skala

Działamy na terenie całej Polski.

Dyspozycyjność

Dyspozycyjność

Możemy wykonać odbiór mieszkania w dowolnym terminie.

Sieć fachowców

Sieć fachowców

Audyty wykonują przeszkoleni inżynierowie i inspektorzy.

Jednolity format usług

Jednolity format usług

Ustandaryzowane odbiory mieszkań według sprawdzonego schematu.

Zgromadzona wiedza

Zgromadzona wiedza

Doświadczenie z setek audytów technicznych i prawnych w jednym miejscu.

Dowiedz się, jak bezpiecznie odebrać mieszkanie lub dom na rynku pierwotnym

Poradniki

Zachęcamy do pobrania darmowych poradników przygotowanych przez naszych prawników i inżynierów

Poradnik odbioru technicznego od dewelopera

okładka poradnika

Poradnik poodbiorowy

okładka poradnika

Poradnik o rękojmi nieruchomości

okładka poradnika

Jakie usterki pojawiają się na odbiorze technicznym nieruchomości?

Zobacz, z jakimi przykładowymi problemami spotkał się inżynier Karol podczas odbiorów nieruchomości

Jak sprawdzić nieruchomość?

Audyt nieruchomości to nie tylko równe posadzki i bezpieczne instalacje.

Kliknij na ikonę pewny lokal czarny domek
żeby dowiedzieć się
więcej o usłudze!

strzałka