Norma PN-HD 60364-5-54:2011 - Instalacje elektryczne niskiego napięcia - Część 5-54 - pełna treść online

Potrzebujesz profesjonalnej pomocy w odbiorze technicznym?

Norma budowlana PN-HD 60364-5-54:2011 za darmo

Artykuł analizuje problematykę odpłatności za polskie normy budowlane, które są przywoływane w rozporządzeniach ministerialnych jako obowiązkowe. W ramach protestu przeciwko ograniczaniu jawności prawa, publikujemy pełną treść normy PN-HD 60364-5-54:2011, określającej zasady doboru i montażu układów uziemiających oraz przewodów ochronnych.

Potrzebujesz pomocy przy odbiorze nieruchomości od dewelopera?

Zamów fachową pomoc w odbiorze z Pewny Lokal!

  • Nie da się sprawdzić odbieranego mieszkania lub domu bez profesjonalnego, atestowanego (i drogiego!) sprzętu pomiarowego oraz znajomości norm.
  • Naprawa usterek w standardowym mieszkaniu kosztuje średnio 30 000 zł — jeśli usterki zostaną zgłoszone podczas odbioru, to naprawi je deweloper.
  • Inżynierowie Pewny Lokal znajdą wszystkie usterki w Twoim mieszkaniu. Gwarantujemy.

Gwarancja wyłapania usterek.
Doświadczeni inżynierowie.
Duża dyspozycyjność.

Strzałka zarezerwuj

Norma budowlana PN-HD 60364-5-54:2011 PDF

pobierz plik
Pobierz pdf

Norma budowlana PN-HD 60364-5-54:2011 DOC

pobierz plik
Pobierz doc

W Polsce obowiązuje żelazna zasada: ignorantia iuris nocet – nieznajomość prawa szkodzi. Obywatel ma obowiązek stosować się do przepisów, a państwo ma obowiązek umożliwić mu ich bezpłatne poznanie. Jednak w polskim systemie prawnym istnieje niebezpieczna "szara strefa" – normy techniczne. Aby przełamać tę barierę, udostępniliśmy zbiór wykupionych przez nas norm budowlanych, z których każdy może teraz skorzystać bezpłatnie. O tym, dlaczego zdecydowaliśmy się na ten krok i jakie ma on znaczenie dla praworządności, opowiada dr Piotr Semeniuk w 30. odcinku podcastu.

Norma PN-HD 60364-5-54:2011, dotycząca układów uziemiających i przewodów ochronnych, nie jest jedynie technicznym podręcznikiem dla inżynierów. To fundament ochrony przeciwporażeniowej w każdym domu i zakładzie pracy. Zgodnie z Rozporządzeniem Ministra Infrastruktury z dnia 12 kwietnia 2002 r. w sprawie warunków technicznych, jakim powinny odpowiadać budynki i ich usytuowanie, stosowanie norm z grupy PN-HD 60364 jest obowiązkowe. Od prawidłowego wykonania uziomu czy doboru przekroju przewodów ochronnych zależy, czy w razie awarii zadziałają zabezpieczenia, chroniąc nas przed śmiercią lub pożarem.

Dlaczego zatem dostęp do wiedzy o tym, jak ratować ludzkie życie, kosztuje?

Problem płatnego dostępu do bezpieczeństwa

Obecnie Polski Komitet Normalizacyjny (PKN) traktuje normy jak produkt rynkowy, sprzedając dostęp do nich za niemałe kwoty. Uważamy, że jest to sytuacja niedopuszczalna z kilku powodów:

1. Normy to prawo techniczne: W momencie, gdy rozporządzenie (akt prawny) odwołuje się do konkretnej normy, staje się ona integralną częścią systemu prawnego. Ukrywanie zasad budowy uziemień za płatną barierą to uderzenie w zasady demokratycznego państwa prawnego.

pewny lokal icon

Kupujesz lub sprzedajesz nieruchomość?

speed clock

Uniknij kosztownych błędów! W 60 sekund odpowiedz na 5 prostych pytań, a my powiemy Ci, na co uważać!

house icon

Kupujesz czy sprzedajesz nieruchomość?

Ostatnie pytanie: Zaznacz umowy, które według Twojej wiedzy podpisałeś/aś:

Ostatnie pytanie: Zaznacz umowy, które według Twojej wiedzy podpisałeś/aś:

Ostatnie pytanie: Zaznacz umowy, które według Twojej wiedzy podpisałeś/aś:

Ostatnie pytanie: Zaznacz umowy, które według Twojej wiedzy podpisałeś/aś:

Ostatnie pytanie: Zaznacz umowy, które według Twojej wiedzy podpisałeś/aś:

Gratulujemy podjęcia decyzji! Pamiętaj jednak, że jeśli kupujesz dom od dewelopera, który już jest wybudowany, to bardzo ważne, żebyś m.in.:

  1. Sprawdził dokładnie zapisy umowne - najpewniej będziesz podpisywać umowę przedwstępną, a nie deweloperską. To ważna różnica!
  2. Zweryfikował dewelopera i bezpieczeństwo inwestycji - nieruchomości domowe to mniej "ucywilizowany" niż rynek mieszkaniowy!
  3. Miał prawo do odbioru deweloperskiego i wiedzę techniczną, jak sprawdzić nieruchomość. W przypadku domów to szczególnie ważne!

Pod tym linkiem udostępniamy Ci darmowy poradnik.

2. Bariera dla obywatela i specjalisty: Inżynier, student, a przede wszystkim zwykły lokator, który chce sprawdzić, czy wykonawca nie zlekceważył montażu uziomu fundamentowego, musi zapłacić za dostęp do wytycznych, które państwo uznało za obowiązkowe. To prywatyzacja zysków z wiedzy, która powinna służyć bezpośrednio bezpieczeństwu publicznemu.

3. Brak transparentności: Wykonawcy często korzystają z faktu, że inwestor nie zna treści norm dotyczących np. minimalnych przekrojów przewodów ochronnych czy materiałów na uziomy. Darmowy dostęp do tych danych to jedyne narzędzie, które pozwala realnie kontrolować jakość instalacji, od których zależy nasze życie.

Publikując poniższe wytyczne, przywracamy jawność standardom, które bezpośrednio wpływają na bezpieczeństwo Twoje i Twoich bliskich.

INSTALACJE ELEKTRYCZNE NISKIEGO NAPIĘCIA –

Część 5-54: Dobór i montaż wyposażenia elektrycznego – Układy uziemiające i przewody ochronne

Zakres normy

Niniejsza część HD 60364 dotyczy układów uziemiających i przewodów ochronnych, łącznie z przewodami ochronnymi wyrównawczymi, i ma na celu zapewnienie bezpieczeństwa instalacji elektrycznych.

Terminy i definicje

Do celów niniejszego dokumentu mają zastosowanie terminy i definicje podane w IEN 61140 oraz poniżej.

Definicje odnoszące się do układów uziemiających, przewodów ochronnych i przewodów ochronnych wyrównawczych zilustrowano w Załączniku B i wymieniono niżej.

541.3.1 część przewodząca dostępna

Część przewodząca urządzenia, którą można dotknąć, niebędąca normalnie pod napięciem, i która może znaleźć się pod napięciem w przypadku uszkodzenia izolacji podstawowej

[IEC 60050-826:2004, 826-12-10]

541.3.2 część przewodząca

Obca część przewodząca, niebędąca częścią instalacji elektrycznej i mogąca znaleźć się pod potencjałem elektrycznym, zwykle potencjałem ziemi lokalnej

[IEC 60050-825:2004, IEV 826-12-11]

541.3.3 uziom

Część przewodząca, którą można umieścić w gruncie lub w określonym ośrodku przewodzącym, np. w betonie, pozostającym w kontakcie elektrycznym z Ziemią

[IEC 60050-826:2004, 826-13-05, zmodyfikowany]

541.3.4 uziom fundamentowy zabetonowany

Uziom zabetonowany w fundamencie budynku, na ogół w formie zamkniętej pętli

[IEC 60050-826:2004, 826-13-08, zmodyfikowany]

541.3.5 uziom fundamentowy zagruntowany

Uziom umieszczony w gruncie pod fundamentem budynku, na ogół w formie zamkniętej pętli

[IEC 60050-826:2004, 826-13-08, zmodyfikowany]

541.3.6 przewód ochronny

Przewód przeznaczony do zapewnienia bezpieczeństwa, na przykład do ochrony przed porażeniem prądem elektrycznym

[IEC 60050-826:2004, 826-13-22]

UWAGA Przykłady przewodu ochronnego obejmują: przewód ochronny wyrównawczy, przewód ochronny uziemiający i przewód uziemiający, gdy są stosowane do ochrony przed porażeniem prądem elektrycznym.

541.3.7 przewód ochronny wyrównawczy

Przewód przewidziany do ochronno-wyrównawczego połączenia

[IEC 60050-826:2004, 826-13-24]

8541.3.8 przewód uziemiający

Przewód tworzący drogę przewodzącą, lub jej część, między danym punktem – w sieci, w instalacji lub w urządzeniu – a układem uziomów

[IEC 60050-826:2004, 826-13-12]

UWAGA W kontekście postanowień niniejszej części HD 60364, przewód uziemiający jest przewodem, który łączy uziom z punktem w układzie połączeń wyrównawczych, zwykle z głównym zaciskiem uziemiającym.

541.3.9 zacisk uziemiający główny

Szyna uziemiająca główna zacisk lub szyna, która jest częścią układu uziemiającego instalacji i umożliwia łączenie elektryczne wielu przewodów w celu ich uziemienia

[IEC 60050-826:2004, 826-13-15]

541.3.10 przewód ochronny uziemiający

Przewód ochronny przewidziany do uziemienia ochronnego

[IEC 60050-826:2004, 826-13-23]

541.3.11 uziemienie funkcjonalne

Uziemienie punktu lub punktów w sieci lub w instalacji, lub w urządzeniu, do celów innych niż bezpieczeństwo elektryczne

[IEC 60050-826:2004, IEV 826-13-10]

541.3.12 układ uziemiający

Wszystkie elektryczne połączenia i urządzenia występujące w układzie uziemiającym sieci, instalacji lub urządzeń

[IEC 60050-195:2004, 195-02-20]

Układy uziemiające

542.1 Wymagania ogólne

542.1.1 Układy uziemiające mogą być stosowane razem lub oddzielnie do celów ochronnych i funkcjonalnych, zgodnie z wymaganiami instalacji elektrycznej. Pierwszeństwo powinny mieć zawsze wymagania dotyczące ochrony.

542.1.2 Jeżeli w instalacji przewidziane są uziomy, to należy je połączyć z główną szyną wyrównawczą za pomocą przewodu uziemiającego.

UWAGA Nie jest wymagane, aby instalacja miała własny uziom.

542.1.3 Jeżeli instalacja niskiego napięcia jest zasilana z instalacji wysokiego napięcia, to wymagania dotyczące układów uziemiających obydwu tych instalacji powinny być zgodne również z EN 60364-4-44:2007, Rozdział 442.

542.1.4 Wymagania dotyczące układów uziemiających są przeznaczone do zapewnienia takiego połączenia z ziemią, które:

– jest niezawodne i spełnia wymagania ochronne instalacji;

– może przewodzić do ziemi prądy zwarciowe i prądy z przewodu ochronnego bez niebezpieczeństwa wystąpienia naprężeń cieplnych, cieplno-mechanicznych i elektromechanicznych oraz porażeń elektrycznych powodowanych przez te prądy;

– spełnia również, w razie potrzeby, wymagania funkcjonalne;

– jest odporne na przewidywalne wpływy zewnętrzne (patrz HD 60364-5-51), np. naprężenia mechaniczne i korozję.

542.1.5 Należy zwrócić uwagę na układy uziemiające tam, gdzie spodziewany jest przepływ prądów o dużych częstotliwościach (patrz EN 60364-4-44:2007, Rozdział 444).

542.1.6 Na ochronę przed porażeniem prądem elektrycznym, jak stwierdzono w HD 60364-4-41, nie powinna negatywnie wpływać żadna dająca się przewidzieć zmiana rezystancji uziemienia (np. pod wpływem korozji, suszy lub mrozu).

Uziomy

542.2.1 Typ, materiały i wymiary uziomów należy wybrać tak, aby były one odporne na korozję i miały odpowiednią wytrzymałość mechaniczną przez zadany czas życia.

UWAGA 1  W przypadku korozji można rozpatrywać następujące parametry: pH gruntu w tym miejscu, jego rezystywność i wilgotność oraz prądy błądzące i upływu a.c. i d.c, a także chemiczne zanieczyszczenie i bliskość odmiennych materiałów.

W Tablicy 54.1. podano minimalne – z uwagi na korozję i wytrzymałość mechaniczną – wymiary materiałów powszechnie stosowanych na uziomy, gdy są one osadzone w ziemi lub w betonie.

UWAGA 2 Minimalna grubość powłoki ochronnej uziomów pionowych jest większa niż uziomów poziomych, gdyż uziomy pionowe – podczas ich pogrążania – są bardziej narażone na naprężenia mechaniczne. Jeśli wymagane jest urządzenie piorunochronne, zastosowanie ma EN 62305-3:2006, 5.4.

Tablica 54.1 - Minimalne wymiary, pozwalające zapobiec korozji i zapewnić niezbędną wytrzymałość mechaniczną, powszechnie stosowanych uziomów, osadzanych w gruncie lub betonie

Wymiary pozwalające zapobiec korozjiWymiary pozwalające zapobiec korozji


UWAGA  Wartości w nawiasach są stosowane tylko do ochrony przed porażeniem prądem, a wartości bez nawiasów do ochrony odgromowej i ochrony przed porażeniem elektrycznym.

  • Chrom ≥ 16 %, nikiel ≥ 5 %, molibden ≥ 2 %, węgiel ≤ 0,08 %.
  • Jako taśma walcowana lub taśma cięta z zaokrąglonymi krawędziami.
  • Powłoka powinna być gładka, ciągła i wolna od napływu zanieczyszczeń.
  • Tam, gdzie doświadczenie pokazuje, że ryzyko korozji i uszkodzenia mechanicznego jest bardzo małe, można zastosować 16 mm2.
  • Grubość ta ma zapewnić miedzianej powłoce odporność na mechaniczne narażenia podczas procesu instalacji. Można ją zredukować do 100 mm, ale nie więcej, tam gdzie – zgodnie z instrukcjami producenta – są podejmowane specjalne środki ostrożności, w celu uniknięcia uszkodzeń mechanicznych miedzi podczas procesu instalacji (np. nawiercane otwory lub specjalne końcówki ochronne).

542.2.2 Skuteczność każdego uziomu zależy od jego konfiguracji i od lokalnych warunków gruntowych. Należy wybrać co najmniej jeden uziom odpowiadający warunkom gruntowym i zapewniający wymaganą wartość rezystancji uziemienia.

W Załączniku D podano metody szacowania rezystancji uziemienia.

542.2.3 Poniżej podano przykłady uziomów, które mogą być stosowane:

– uziom fundamentowy zabetonowany;

UWAGA Więcej informacji, patrz Załącznik C.

– uziom fundamentowy zagruntowany;

– metalowe elektrody umieszczone bezpośrednio w ziemi, pionowo lub poziomo (np. pręty, druty, taśmy, rury

lub płyty);

– metalowe osłony i inne metalowe pokrycia kabli według lokalnych warunków lub wymagań;

– inne odpowiednie podziemne struktury metalowe (np. rury) zgodne z lokalnymi warunkami lub wymaganiami;

– umieszczone w ziemi spawane metalowe zbrojenie betonu (z wyjątkiem betonu sprężonego).

542.2.4 Dobierając rodzaj i głębokość umieszczenia uziomu należy zwrócić uwagę na ewentualne uszkodzenia mechaniczne i warunki lokalne, aby zminimalizować efekt wysuszania i zamarzania gruntu.

542.2.5 Należy zwrócić uwagę na możliwość występowania korozji elektrolitycznej, jeżeli są stosowane różne materiały do budowy układu uziemiającego. Zewnętrzne przewody (np. przewód uziemiający) łączone z uziomem fundamentowym zabetonowanym, wykonane ze stali ocynkowanej, nie powinny być umieszczane w gruncie.

542.2.6 Układ uziemiający nie powinien bazować na metalowej rurze do cieczy lub gazów palnych, jako na uziomie, a zakopanego w ziemi odcinka takiej rury nie należy brać pod uwagę przy doborze uziomu.

UWAGA Wymaganie to nie wyklucza ochronnego połączenia wyrównawczego takich rur poprzez główny zacisk uziemiający (541.3.9) zgodnie z HD 60364-4-41.

Jeżeli jest stosowana ochrona katodowa, a część przewodząca dostępna urządzenia elektrycznego, zasilanego z układu TT, jest podłączona bezpośrednio do rury, to metalowa rura z palnymi cieczami lub gazami może służyć jako jedyny uziom tego konkretnego urządzenia.

542.2.7 Uziomów nie należy zanurzać bezpośrednio w wodzie strumienia, rzeki, stawu, jeziora itp. (patrz również 542.1.6).

542.2.8 Jeżeli uziom składa się z  części, które powinny być łączone ze sobą, to połączenie takie należy wykonać, stosując spawanie egzotermiczne, złącza dociskowe, zaciski lub inne odpowiednie łączniki mechaniczne.

UWAGA Połączenia wykonane jedynie za pomocą owiniętego drutu stalowego nie nadają się do celów ochronnych.

Przewody uziemiające

542.3.1 Przewody uziemiające powinny być zgodne z 543.1.1 lub 543.1.2. Powierzchnia ich przekroju poprzecznego nie może być mniejsza niż 6 mm2 w przypadku miedzi lub 50 mm2 w przypadku stali. Jeżeli goły przewód uziemiający jest umieszczony w ziemi, to jego wymiary i właściwości powinny być również zgodne z Tablicą 54.1.

Jeżeli nie przewiduje się przepływu znaczącego prądu zwarciowego przez uziom (na przykład w sieci TN lub w sieci informatycznej), przewód uziemiający można zwymiarować zgodnie z 544.1.

Przewody aluminiowe nie powinny być stosowane jako przewody uziemiające.

UWAGA Jeżeli do uziomu jest podłączone urządzenie piorunochronne, zaleca się aby powierzchnia przekroju przewodu uziemiającego wynosiła co najmniej 16 mm2 w przypadku miedzi (Cu) lub 50 mm2 w przypadku żelaza (Fe), (patrz seria EN 62305).

542.3.2 Połączenie przewodu uziemiającego z uziomem powinno być wykonane poprawnie i zadowalająco pod względem elektrycznym. Połączenie należy wykonać stosując spawanie egzotermiczne, złącza dociskowe, zaciski lub inne odpowiednie łączniki mechaniczne. Łączniki mechaniczne powinny być instalowane zgodnie z instrukcjami wytwórcy. Jeżeli jest stosowany zacisk, to nie powinien on powodować uszkodzenia uziomu lub przewodu uziemiającego.

Urządzenia połączeniowe lub złączki, które zależą wyłącznie od lutu, nie powinny być używane oddzielnie, gdyż nie zapewniają w sposób wiarygodny właściwej wytrzymałości mechanicznej.

UWAGA Jeżeli zainstalowano uziomy pionowe, można zapewnić środki umożliwiające kontrolę połączenia i wymianę pręta pionowego.

Główny zacisk uziemiający

542.4.1 W każdej instalacji, w której jest stosowane ochronne połączenie wyrównawcze, należy przewidzieć główny zacisk uziemiający, do którego należy przyłączyć:

– przewody ochronne wyrównawcze;

– przewody uziemiające;

– przewody ochronne;

– przewody uziemiające funkcjonalne, w stosownych przypadkach.

UWAGA 1 Nie jest celowe łączenie każdego indywidualnego przewodu ochronnego bezpośrednio z głównym zaciskiem uziemiającym, gdzie są one połączone z tym zaciskiem poprzez inne przewody ochronne.

UWAGA 2 Na ogół główna szyna wyrównawcza budynku może być użyta do realizacji uziemienia funkcjonalnego. Wówczas w przypadku technik informatycznych jest ona traktowana, jako punkt połączenia z ziemią. Jeżeli jest więcej zacisków uziemiających niż jeden, powinny one być ze sobą połączone.

542.4.2 Połączenie każdego przewodu z  głównym zaciskiem uziemiającym powinno umożliwiać jego indywidualne odłączenie. Połączenie to powinno być pewne i takie, żeby można je było rozłączyć tylko z użyciem narzędzi.

UWAGA Sposoby służące rozłączaniu można dogodnie powiązać z głównym zaciskiem uziemiającym, aby umożliwić pomiar rezystancji uziemienia.

Przewody ochronne

UWAGA Zaleca się uwzględnienie wymagań podanych w EN 60364-5-51:2005, Rozdział 516.

543.1 Minimalne powierzchnie przekrojów poprzecznych

543.1.1 Powierzchnia przekroju poprzecznego każdego przewodu ochronnego powinna spełniać warunki samoczynnego wyłączenia zasilania wg HD 60364-4-41:2005, 411.3.2 i być w stanie wytrzymać mechaniczne i cieplne naprężenia powodowane spodziewanym prądem zwarciowym w trakcie jego wyłączania przez urządzenie zabezpieczające. Powierzchnię przekroju poprzecznego przewodu ochronnego należy obliczyć zgodnie z  543.1.2 albo dobrać zgodnie z Tablicą 54.2. W każdym przypadku należy wziąć pod uwagę wymagania podane w 543.1.3.

Zaciski przeznaczone dla przewodów ochronnych powinny umożliwiać przyłączanie przewodów o wymiarach wymaganych w niniejszym podrozdziale. W sieciach TT, gdzie uziomy układu zasilania i dostępnych części przewodzących są elektrycznie niezależne (patrz 312.2.2), dopuszcza się by powierzchnie przekroju poprzecznego przewodów ochronnych nie przekroczyły:

– 25 mm2 w przypadku miedzi,

– 35 mm2 w przypadku aluminium.

Tablica 54.2 – Minimalna powierzchnia przekroju poprzecznego przewodów ochronnych (nie obliczona zgodnie z 543.1.2)

Przekrój poprzeczny przewodów ochronnychPrzekrój poprzeczny przewodów ochronnych


543.1.2 Powierzchnia przekroju poprzecznego przewodów ochronnych nie powinna być mniejsza niż wartość wyznaczona:

– zgodnie z IEC 60949 lub

– z następującego wzoru, stosowanego tylko w przedziale czasów wyłączeniowych nie przekraczających 5 s: S = √(I²t) / k

w którym:

S - jest powierzchnią przekroju poprzecznego, w mm2;

I - jest – wyrażoną w amperach – skuteczną wartością spodziewanego prądu zwarciowego, który – przy pomijalnej impedancji zwarciowej – może płynąć przez urządzenie zabezpieczające (patrz EN 60909-0);

t - jest wyrażonym w sekundach czasem zadziałania urządzenia ochronnego przy samoczynnym wyłączeniu;

k - jest współczynnikiem, zależnym od materiału przewodu ochronnego, izolacji i innych części oraz od początkowej i końcowej temperatury (obliczenie wartości k, patrz Załącznik A)

Jeżeli w wyniku zastosowania omówionego wzoru uzyska się niestandardowy rozmiar, należy zastosować przewód mający co najmniej najbliższą większą standardową powierzchnię przekroju poprzecznego.

UWAGA 1 Zaleca się wzięcie pod uwagę efektu ograniczenia prądu przez impedancje obwodów i ograniczenie wartości l2t urządzenia zabezpieczającego.

UWAGA 2 Ograniczenia temperatur instalacji w potencjalnie wybuchowych atmosferach, patrz EN 60079-0.

UWAGA 3 Ponieważ metalowe powłoki kabli o izolacji mineralnej, zgodnie z EN 60702-1, mają obciążalność przy zwarciu doziemnym większą niż przewody liniowe, nie jest wymagane obliczenie powierzchni przekroju poprzecznego powłok metalowych, jeżeli są one wykorzystywane jako przewody ochronne.

543.1.3 Powierzchnia przekroju poprzecznego każdego przewodu ochronnego, który nie jest częścią kabla lub nie jest we wspólnej osłonie z przewodem liniowym, nie powinna być mniejsza niż:

- 5 mm2 Cu lub 16 mm2 Al, jeżeli jest zapewniona ochrona przed uszkodzeniem mechanicznym.

- 4 mm2 Cu lub 16 mm2 Al, jeżeli nie jest zapewniona ochrona przed uszkodzeniem mechanicznym.

UWAGA Zastosowanie stalowego przewodu ochronnego nie jest wykluczone (patrz 543.1.2).

Przewód ochronny nie będący częścią kabla jest uznany za odporny mechanicznie, jeżeli jest on zainstalowany w kanale lub w korytku, albo jest chroniony w podobny sposób.

543.1.4 Jeżeli przewód ochronny jest wspólny dla co najmniej dwóch obwodów, powierzchnię jego przekroju poprzecznego należy wyznaczyć w następujący sposób:

– obliczyć zgodnie z 543.1.2 dla największego spodziewanego prądu zwarciowego i czasu jego przepływu w tych obwodach lub

– dobrać zgodnie z Tablicą 54.2 tak, aby odpowiadał największej powierzchni przekroju poprzecznego przewodu liniowego obwodów.

543.2 Rodzaje przewodów ochronnych

543.2.1 Przewody ochronne mogą składać się co najmniej z jednego z następujących elementów:

– żył kablowych;

– izolowanych lub gołych przewodów we wspólnej obudowie z czynnymi przewodami;

– gołych lub izolowanych przewodów zainstalowanych na stałe;

– metalowej powłoki kabla, ekranu kablowego, zbrojenia kablowego, oplotu wykonanego z drutów, przewodu koncentrycznego, kanału metalowego, z zastrzeżeniem warunków ustalonych w 543.2.2. a) i b).

UWAGA Ich rozmieszczenie, patrz 543.8.

543.2.2 Jeżeli w skład instalacji wchodzą urządzenia z metalowymi obudowami takie, jak zespoły aparatury rozdzielczej i sterowniczej niskiego napięcia (patrz EN 61439-1 i EN 61439-2) lub układy szyn zbiorczych (patrz EN 60439-2), to te metalowe obudowy lub konstrukcje mogą być wykorzystane jako przewody ochronne, jeżeli jednocześnie spełniają trzy następujące wymagania:

a) zapewniają ciągłość elektryczną przez konstrukcję lub przez odpowiednie połączenie w  taki sposób, że gwarantowana jest również ochrona przed degradacją mechaniczną, chemiczną i elektrochemiczną;

b) są zgodne z wymaganiami wg 543.1;

c) umożliwiają podłączenie innych przewodów ochronnych w każdym wcześniej ustalonym dostępnym punkcie.

543.2.3 Nie dopuszcza się stosowania  następujących części metalowych ani jako przewodów ochronnych, ani jako przewodów ochronnych wyrównawczych:

– metalowych rur wodociągowych;

– metalowych rur, zawierających materiały potencjalnie łatwopalne, takie jak gazy, ciecze, proszek;

UWAGA 1 Ochrona katodowa, patrz 542.2.6.

– części konstrukcyjnych narażonych na naprężenia mechaniczne podczas normalnej eksploatacji;

– giętkich lub sprężystych metalowych kanałów, chyba że są do tego przeznaczone;

– giętkich części metalowych;

– drutów nośnych; korytek i drabinek instalacyjnych.

UWAGA 2 Przykładowe przewody ochronne to: przewód ochronny wyrównawczy, przewód ochronny uziemiający i przewód uziemiający, gdy jest stosowany do ochrony przed porażeniem prądem elektrycznym.

543.3 Ciągłość elektryczna przewodów ochronnych

543.3.1 Przewody ochronne powinny być odpowiednio chronione przed uszkodzeniem mechanicznym, degradacją chemiczną lub elektrochemiczną, oddziaływaniem sił elektrodynamicznych i sił termodynamicznych.

Każde połączenie (np. połączenia skręcane, złącza zaciskowe) między przewodami ochronnymi lub pomiędzy przewodem ochronnym i innymi urządzeniami powinno zapewnić trwałą ciągłość elektryczną oraz odpowiednią wytrzymałość i ochronę mechaniczną. Śruby do łączenia przewodów ochronnych nie powinny służyć żadnemu innemu celowi.

Złącza nie powinny być lutowane.

UWAGA Zaleca się, aby wszystkie połączenia elektryczne miały zadowalającą pojemność cieplną i odporność mechaniczną umożliwiającą wytrzymanie każdej kombinacji prądowo/czasowej, która może pojawić się w przewodzie lub w kablu/obudowie o największej powierzchni przekroju poprzecznego.

543.3.2 Złącza przewodów ochronnych powinny być dostępne do kontroli i badań, z wyjątkiem:

– złączy napełnionych związkiem chemicznym,

– złączy obudowanych,

– złączy w metalowych kanałach, korytkach i układach szynoprzewodów,

– złączy stanowiących część urządzeń i spełniających ich standardy,

– złączy spawanych lub lutowanych,

– złączy wykonanych narzędziem sprężającym.

543.3.3 Żadne urządzenie łączeniowe nie powinno występować w  przewodzie ochronnym, jednak z wyjątkiem złączy, które w celu przeprowadzenia pomiarów dają się – przy użyciu narzędzi – rozłączyć.

543.3.4 Jeżeli jest stosowany elektryczny monitoring uziemienia, to dedykowane urządzenia (np. czujniki operacyjne, cewki, przekładniki prądowe) nie mogą być łączone szeregowo w przewodach ochronnych.

543.3.5 W przypadku urządzeń elektrycznych nie należy stosować części przewodzących dostępnych do tworzenia części przewodu ochronnego innych urządzeń, z wyjątkiem przypadków podanych w 543.2.2.

Przewody PEN, PEL lub PEM

UWAGA Ponieważ przewody te pełnią dwie funkcje, funkcję przewodu PE i/lub przewodów N, L lub M, zaleca się wzięcie pod uwagę wszystkich obowiązujących wymagań dotyczących właściwych funkcji.

543.4.1 Przewód PEN, PEL lub PEM może być stosowany tylko w stałych instalacjach elektrycznych, a z przyczyn mechanicznych powinien mieć powierzchnię przekroju poprzecznego nie mniejszą niż 10 mm2 w przypadku miedzi lub 16 mm2 w przypadku aluminium.

UWAGA 1 Ze względu na EMC zaleca się, aby przewód PEN nie był zainstalowany za złączem instalacji od strony odbiorów (patrz HD 60364-4-44:2007, 444.4.3.2).

UWAGA 2 Zgodnie z EN 60079-14 nie jest dozwolone korzystanie z przewodu PEN, PEL lub PEM w atmosferze zagrożonej wybuchem.

543.4.2 Przewód PEN, PEL lub PEM powinien mieć izolację na napięcie znamionowe przewodu liniowego.

Metalowe obudowy układów oprzewodowania nie powinny być stosowane jako przewody PEN, PEL lub PEM, z wyjątkiem układów szynoprzewodów wg EN 60439-2 i układów zasilania szynoprzewodów wg EN 61534-1.

UWAGA Zaleca się, aby komitety odpowiedzialne za wyroby brały pod uwagę potencjalny wpływ EMI w urządzeniach z przewodem PEN, PEL lub PEM.

543.4.3 Jeśli z jakiegokolwiek punktu instalacji funkcje: neutralna/punktu środkowego/liniowa i ochronna są realizowane za pomocą oddzielnych przewodów, niedozwolone jest podłączanie przewodu neutralnego/środkowego/liniowego do innych uziemionych części instalacji. Jednak dopuszcza się możliwość prowadzenia większej liczby przewodów neutralnych/środkowych/liniowych i większej liczby przewodów ochronnych odpowiednio z PEN, PEL lub PEM.

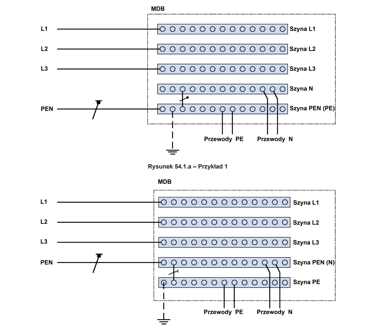
Przewód PEN, PEL lub PEM należy podłączyć do zacisku lub szyny przeznaczonej dla przewodów ochronnych (patrz Rysunek 54.1a), chyba że nie ma konkretnego zacisku lub konkretnej szyny, które byłyby przeznaczone do połączenia z przewodem PEN, PEL lub PEM (przykłady podano na Rysunkach 54.1b i 54.1c).

Rysunek 54.1.a – Przykład 1, Rysunek 54.1b – Przykład 2Rysunek 54.1.a – Przykład 1, Rysunek 54.1b – Przykład 2

Rysunek 54.1c – Przykład 3Rysunek 54.1c – Przykład 3


Objaśnienia

MDB główna tablica rozdzielcza

Rysunek 54.1 – Przykłady połączenia przewodu PEN

UWAGA W układach zasilanych prądem stałym SELV, np. systemy telekomunikacyjne, nie istnieje przewód PEL lub PEM.

543.4.4 Nie należy stosować części przewodzących obcych jako przewodów PEN, PEL  lub PEM

543.5 Wspólne przewody uziemiające, ochronne i funkcjonalne

Jeżeli jest stosowany wspólny przewód uziemiający, ochronny i funkcjonalny, powinien on spełniać wymagania stawiane przewodowi ochronnemu. Powinien również spełniać stosowne wymagania z  zakresu funkcjonalności (patrz EN 60364-4-44:2007, Rozdział 444).

Przewód powrotny PEL lub PEM prądu stałego do zasilania układów techniki informacyjnej może także służyć jako wspólny przewód uziemiający funkcjonalny i ochronny.

UWAGA Więcej informacji, patrz EN 61140:2001, 7.5.3.1.

543.6 Prądy w przewodach ochronnych uziemiających

W normalnych warunkach pracy nie zaleca się stosowania przewodu ochronnego uziemiającego jako ścieżki przewodzącej prąd (np. w celu łączenia filtrów EMC), patrz również EN 61140. Jeżeli w normalnych warunkach eksploatacji prąd przekracza 10 mA, należy stosować wzmocniony przewód ochronny (patrz 543.7).

UWAGA Zaleca się zredukowanie pojemnościowych prądów upływu, np. przez przewody lub silniki, poprzez odpowiednie zaprojektowanie instalacji i urządzeń.

543.7 Wzmocnione przewody ochronne uziemiające dostosowane do prądów większych niż 10 mA

W przypadku odbiorników przeznaczonych do przyłączenia na stałe, gdy prąd w ich przewodzie ochronnym uziemiającym przekracza 10 mA, postępuje się następująco:

– jeżeli odbiornik ma tylko jeden ochronny zacisk uziemiający, to przewód ochronny uziemiający powinien mieć na całej długości powierzchnię przekroju poprzecznego co najmniej 10 mm2 Cu lub 16 mm2 Al;

UWAGA 1 Przewód PEN, PEL lub PEM wg 543.4 spełnia to wymaganie.

- jeżeli odbiornik ma oddzielny zacisk do przyłączenia drugiego przewodu ochronnego uziemiającego, to drugi przewód ochronny uziemiający, o co najmniej takiej samej powierzchni przekroju poprzecznego, jak wymagana do zabezpieczenia przeciwzwarciowego, powinien przebiegać od punktu, w którym przewód ochronny uziemiający ma powierzchnię przekroju poprzecznego nie mniejszą niż 10 mm2 Cu lub 16 mm2 Al.

UWAGA 2 W sieciach TN-C, w których pojedynczy przewód (przewód PEN) stanowi wspólny przewód ochronny i neutralny aż do zacisków urządzeń, prąd w przewodzie ochronnym może być uznawany za prąd obciążenia.

UWAGA 3 Urządzenia odbiorcze, na ogół charakteryzujące się dużym prądem przewodu ochronnego, mogą nie być kompatybilne z instalacjami wyposażonymi w urządzenia różnicowoprądowe.

543.8 Układ przewodów ochronnych

Jeżeli ochrona przed porażeniem elektrycznym jest realizowana za pomocą nadprądowych urządzeń zabezpieczających, to przewód ochronny powinien znaleźć się w tym samym układzie oprzewodowania co przewody czynne lub powinien być umieszczony w ich bezpośrednim sąsiedztwie.

Przewody ochronne wyrównawcze

544.1 Przewody ochronne wyrównawcze do połączenia z głównym zaciskiem uziemiającym

Przewody ochronne wyrównawcze, przeznaczone do łączenia z głównym zaciskiem uziemiającym, powinny mieć powierzchnie przekroju poprzecznego nie mniejsze niż połowa największej powierzchni przekroju poprzecznego przewodu ochronnego uziemiającego instalacji i nie mniejsze niż:

– 6 mm2 w przypadku miedzi; lub

– 16 mm2 w przypadku aluminium; lub

– 50 mm2 w przypadku stali.

Powierzchnia poprzecznego przekroju przewodu ochronnego wyrównawczego, przeznaczonego do połączenia z głównym zaciskiem uziemiającym, nie powinna przekraczać 25 mm2 Cu lub równoważnej powierzchni przekroju poprzecznego innych materiałów.

544.2 Przewody ochronne wyrównawcze do połączeń dodatkowych

544.2.1 Przewód ochronny wyrównawczy, łączący dwie części przewodzące dostępne, powinien mieć przewodność nie mniejszą niż mniejszego przewodu ochronnego, przyłączonego do części przewodzących dostępnych.

544.2.2 Przewód ochronny wyrównawczy, łączący części przewodzące dostępne z  obcymi częściami przewodzącymi, powinien wykazywać przewodność nie mniejszą niż występująca przy połowie powierzchni przekroju poprzecznego odpowiedniego przewodu ochronnego.

544.2.3 Minimalna powierzchnia przekroju poprzecznego przewodów ochronnych wyrównawczych, jako połączeń dodatkowych, i przewodów wyrównawczych pomiędzy dwiema częściami przewodzącymi obcymi powinna być zgodna z 543.1.3.


Karol, główny inżynier Pewny Lokal

Potrzebujesz profesjonalnej pomocy w odbiorze technicznym?

Rezerwuj online
Karol, główny inżynier Pewny Lokal
Pewny Lokal to największa w Polsce firma inżynieryjna specjalizująca się w odbiorach mieszkań i domów. Co miesiąc pomagamy setkom nabywców w odbiorze nieruchomości od dewelopera. Mamy najwięcej pozytywnych opinii. Dowiedz się, dlaczego warto nam zaufać tutaj.

Poznaj Pewny Lokal

  1. Jesteśmy jedyną w Polsce firmą kompleksowo pomagającą w bezpiecznym zakupie mieszkania zarówno od dewelopera, jak i na rynku wtórnym.
  2. Pomogliśmy ponad 30 000 klientów w odbiorze mieszkania od dewelopera.
  3. Poza odbiorami pomagamy również w analizie umów od dewelopera oraz przeprowadzamy kompleksowe audyty techniczne i prawne na rynku wtórnym.
  4. Wreszcie pomagamy też w innych kwestiach, m.in. audycie działki, badaniu termowizyjnym lub przy sprawdzeniu ekipy wykończeniowej.
  5. Termin odbioru, analizy prawnej lub innej usługi możesz wygodnie zarezerwować online tutaj.

Udostępniamy płatne normy budowlane i co nam zrobicie?

Zapraszamy do wysłuchania 30. odcinka podcastu Pewny Lokal.

Artykuły, które mogą Cię zainteresować

Czym jest odbiór techniczny mieszkania i dlaczego warto go zlecić specjaliście?

Dowiedz się, jak zaoszczędzić czas i nerwy na odbiorze technicznym.

Czy nasz artykuł pomógł Ci w Twoim problemie? Podziel się zdobytą wiedzą ze znajomymi!

Oceń artykuł:

  • grade
  • grade
  • grade
  • grade
  • grade
Kupno mieszkania a lokatorzy
Średnia 5/5 na podstawie 710 opinii.

Potrzebujesz profesjonalnej pomocy w odbiorze technicznym?

Rezerwuj online

Odbierz mieszkanie z Pewny Lokal:

Ogólnopolska skala

Ogólnopolska skala

Działamy na terenie całej Polski.

Dyspozycyjność

Dyspozycyjność

Możemy wykonać odbiór mieszkania w dowolnym terminie.

Sieć fachowców

Sieć fachowców

Audyty wykonują przeszkoleni inżynierowie i inspektorzy.

Jednolity format usług

Jednolity format usług

Ustandaryzowane odbiory mieszkań według sprawdzonego schematu.

Zgromadzona wiedza

Zgromadzona wiedza

Doświadczenie z setek audytów technicznych i prawnych w jednym miejscu.

Dowiedz się, jak bezpiecznie odebrać mieszkanie lub dom na rynku pierwotnym

Poradniki

Zachęcamy do pobrania darmowych poradników przygotowanych przez naszych prawników i inżynierów

Poradnik odbioru technicznego od dewelopera

okładka poradnika

Poradnik poodbiorowy

okładka poradnika

Poradnik o rękojmi nieruchomości

okładka poradnika

Jakie usterki pojawiają się na odbiorze technicznym nieruchomości?

Zobacz, z jakimi przykładowymi problemami spotkał się inżynier Karol podczas odbiorów nieruchomości

Jak sprawdzić nieruchomość?

Audyt nieruchomości to nie tylko równe posadzki i bezpieczne instalacje.

Kliknij na ikonę pewny lokal czarny domek
żeby dowiedzieć się
więcej o usłudze!

strzałka